Запчасти John Deere 0 56 - Water Separator / Primary Fuel Filter 0560 External Fuel Supply Systems

Схема запчастей John Deere 0 - 56 - Water Separator / Primary Fuel Filter 0560 External Fuel Supply Systems
FIT
1:1
100%

Артикул

Название

Примечание

Количество

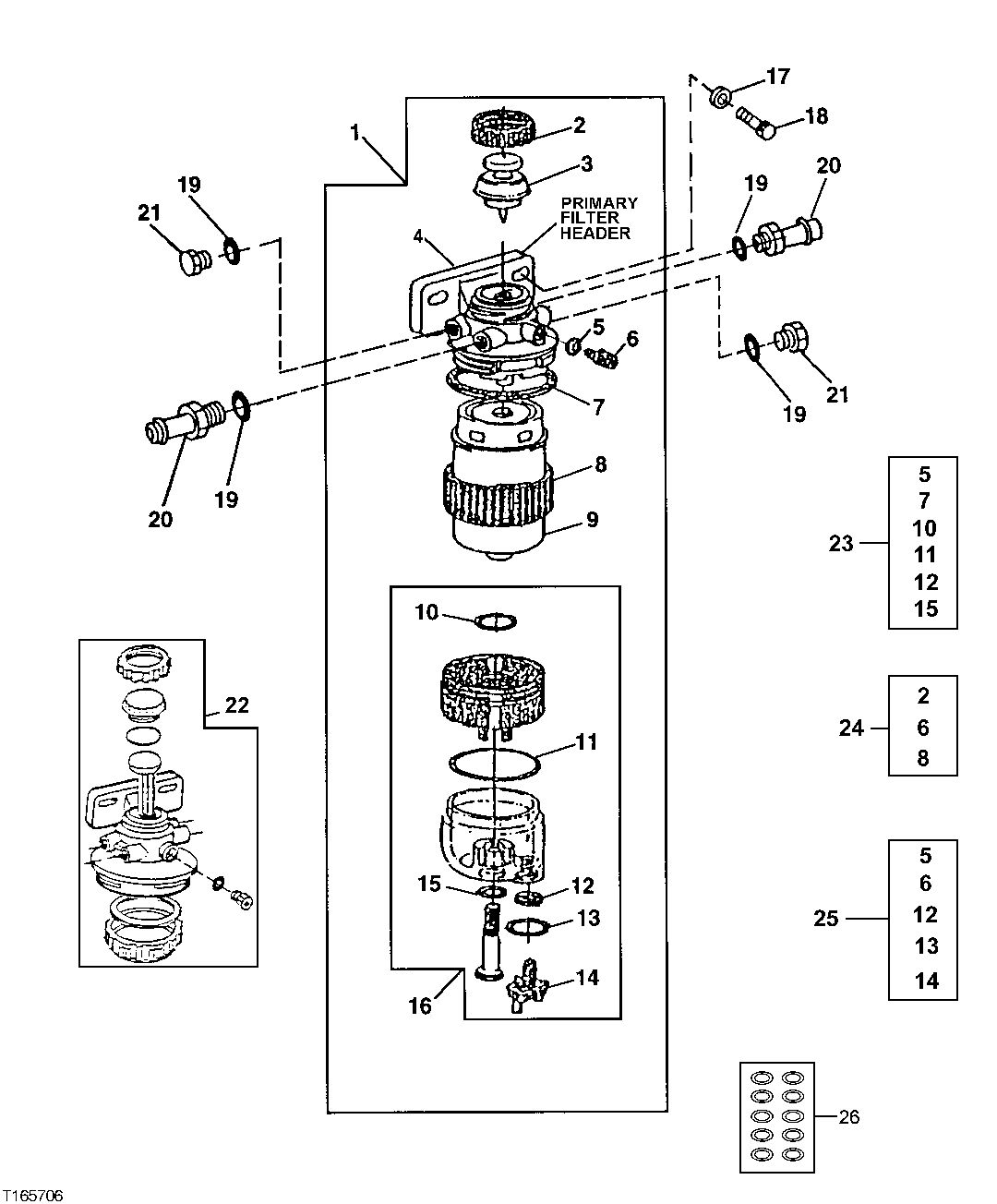
1

Fuel Filter

(RE63163 NLA )

1шт.

2

Ring

1шт.

3

RE50467

Hand Primer

1шт.

R113562

O-Ring

(NOT ILLUSTRATED)

1шт.

4

Filter Head

(SUB RE500161)

1шт.

5

R113562

O-Ring

1шт.

6

R113563

Drain Plug

1шт.

7

R113565

O-Ring

1шт.

8

Ring

1шт.

9

RE62424

Fuel Filter

(INCLUDES DRAIN VALVE)

1шт.

10

Packing

1шт.

11

Packing

1шт.

12

Seal

1шт.

13

O-Ring

1шт.

14

RE60854

Valve Kit

1шт.

15

O-Ring

1шт.

16

RE51650

Sediment Bowl

1шт.

17

12M7066

Lock Washer

10 mm

2шт.

18

19M7358

Cap Screw

M10 X 40

2шт.

19

R26286

O-Ring

4шт.

20

R65684

Fitting

2шт.

21

R27094

Drain Plug

2шт.

22

RE500161

Filter Kit

PRIMARY FILTER

1шт.

23

RE516553

Seal Kit

(NOT ALL ILLUSTRATED) (SUB FOR RE50752)

1шт.

24

RE51649

Seal Kit

(MECHANICAL (NOT ALL ILLUSTRATED))

1шт.

25

RE60854

Valve Kit

BLEED PLUG AND DRAIN VALVE

1шт.

26

RE516513

Pump Repair Kit

(WITH HAND PRIMER) (CONTAINS 10 O-RINGS)

1шт.

RE516512

O-Ring Kit

(WITHOUT HAND PRIMER) (CONTAINS 10 O-RINGS)

1шт.

Выбрано товаров: 28