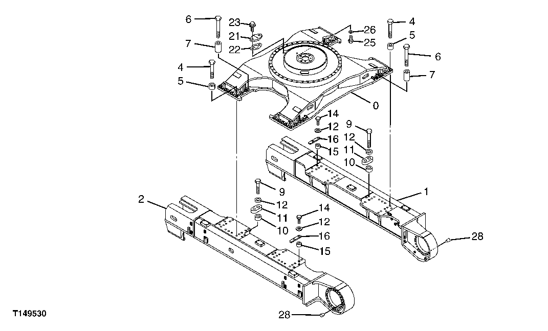
Запчасти John Deere 00C 1 - TRACK FRAME 0130 TRACK SYSTEMS

Схема запчастей John Deere 00C - 1 - TRACK FRAME 0130 TRACK SYSTEMS
FIT
1:1
100%

Артикул

Название

Примечание

Количество

0

5007346

Frame

1шт.

1

4466452

Frame

1шт.

2

4466450

Frame

1шт.

4

4218943

Bolt

(SUB FOR TH4218943)

36шт.

5

4218944

Spacer

(SUB FOR TH4218944)

36шт.

6

4242099

Bolt

(SUB FOR TH4242099)

8шт.

7

4242098

Spacer

(SUB FOR TH4242098)

8шт.

9

J833008

Bolt

(SUB FOR THM923003 OR M923003)

8шт.

10

4218945

Spacer

(SUB FOR TH4218945)

8шт.

11

4207766

Lock Plate

(SUB FOR AT131846)

4шт.

12

4114408

Washer

(SUB FOR TH102876)

16шт.

14

J833002

Bolt

(SUB FOR THM923011 OR M923011)

8шт.

15

4243157

Spacer

(SUB FOR TH4243157)

8шт.

16

4333844

Guide

(SUB FOR TH4333844)

4шт.

21

4013896

Cover

(SUB FOR TH100633)

1шт.

22

4244172

Gasket

(SUB FOR AT202301)

1шт.

23

19M7938

Cap Screw

M10 X 20

2шт.

12M7066

Lock Washer

10 mm

2шт.

25

19M7394

Cap Screw

M16 X 25 (SUB FOR AT202272 AND J901625)

1шт.

26

24M7053

Washer

17 X 30 X 3 mm

1шт.

28

425175

Plug

(SUB FOR AT132013)

4шт.

Выбрано товаров: 0