Запчасти John Deere 00C 130 - Fuel Tank 0560 EXTERNAL FUEL SUPPLY SYSTEMS

Схема запчастей John Deere 00C - 130 - Fuel Tank 0560 EXTERNAL FUEL SUPPLY SYSTEMS
FIT
1:1
100%

Артикул

Название

Примечание

Количество

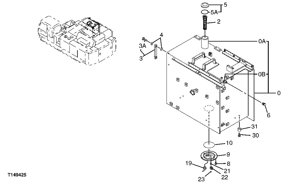
0

6019541

Fuel Tank

1шт.

0A

Tube

P61733 NLA

1шт.

0B

Pipe

P61614 NLA

1шт.

2

4121496

Fuel Filter

SUB FOR TH100509

1шт.

3

8033923

Level Gauge

SUB FOR TH108250

1шт.

3A

4100967

Bolt

SUB FOR TH101894

2шт.

4

449558

Washer

SUB FOR TH100675

4шт.

5

4361638

Cap

KEY LOCKABLE, ORDER KEY SEPARATELY

1шт.

AT323462

Filler Cap

(SUB FOR AT175989 OR 4361638)(CAN BE LOC KED WITH PADLOCK) (PADLOCK NOT INCLUDED)

1шт.

5A

4168820

Packing

SUB FOR TH103384

1шт.

6

4187322

Plug

SUB FOR TH4187322

1шт.

8

19M7402

Cap Screw

M10 X 25

6шт.

12M7066

Lock Washer

10 mm

11шт.

24M7096

Washer

10.500 X 18 X 1.600 mm

11шт.

9

8067496

Cover

SUB FOR AT177828

1шт.

10

TH100679

O-Ring

1шт.

19

9726772

Fitting

SUB FOR TH108251

1шт.

21

94-1901

Adapter Fitting

SUB FOR TH102106

1шт.

22

4374265

Drain Valve

SUB FOR AT177419

1шт.

23

942011

Fitting Plug

SUB FOR 94-2011 AND TH100434

1шт.

30

J921880

Bolt

9шт.

31

4404209

Spacer

SUB FOR TH4404209

9шт.

Выбрано товаров: 22