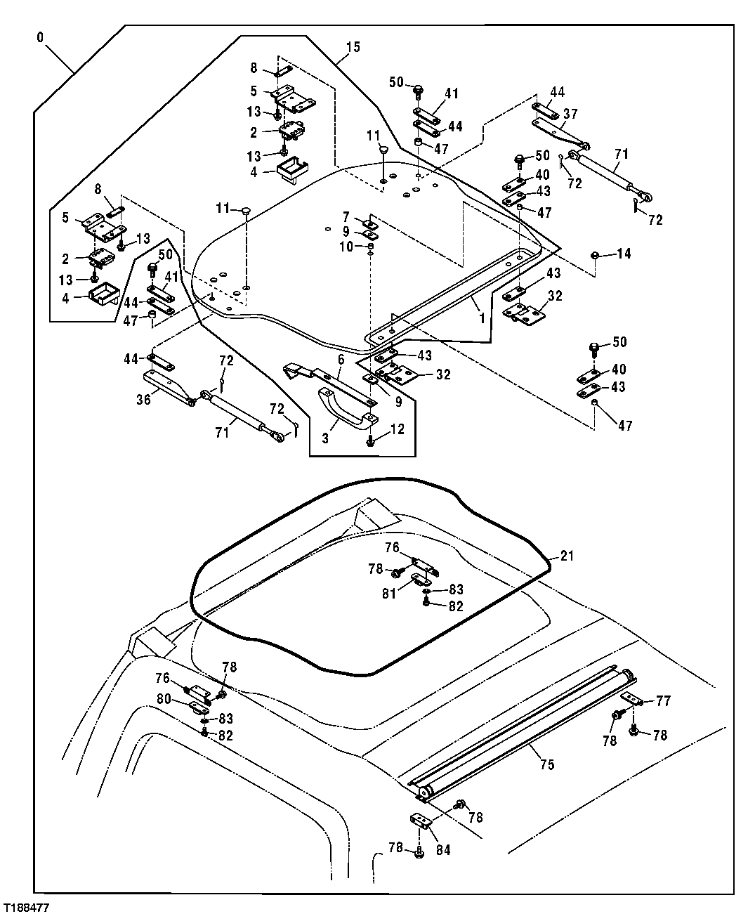
Запчасти John Deere 00C 167 - CAB COMPONENTS (TOP HATCH) 1810 OPERATOR ENCLOSURE

Схема запчастей John Deere 00C - 167 - CAB COMPONENTS (TOP HATCH) 1810 OPERATOR ENCLOSURE
FIT
1:1
100%

Артикул

Название

Примечание

Количество

0

9205229

Cab

Contains All Items On This Page - Additional Components Listed On S eparate Pages (SUB FOR TH9205229)

1шт.

1

4460405

Window

1шт.

2

4369615

Lock

(SUB FOR (2) AT214118)

2шт.

3

4204579

Handle

(SUB FOR 4411821)

1шт.

4

4369616

Cover

(SUB FOR (2) AT214119)

2шт.

5

4474479

Bracket

2шт.

6

4474498

Bracket

1шт.

7

4386452

Plate

2шт.

8

4474480

Packing

4шт.

9

4386450

Packing

4шт.

10

4474494

Bushing

2шт.

11

4369674

Bushing

(SUB FOR (8) AT214172)

8шт.

12

Screw With Washer

( J680630 NLA)

2шт.

21M7466

Screw

M6 X 30

2шт.

12M7006

Lock Washer

6 mm

2шт.

24M7054

Washer

6.400 X 12 X 1.600 mm

2шт.

13

J680514

Screw With Washer

(SUB FOR (16) AT213610)

16шт.

14

4474493

Nut

2шт.

15

Roof

(4456952 NLA) Kit

1шт.

21

4369553

Weatherstrip

1шт.

32

4474478

Hinge

2шт.

36

4477219

Bracket

1шт.

37

4477218

Bracket

1шт.

40

4474477

Plate

2шт.

41

4477217

Plate

2шт.

43

4474476

Packing

4шт.

44

4477216

Packing

4шт.

47

4474482

Bushing

8шт.

50

4372221

Screw With Washer

(SUB FOR (8) AT214307)

8шт.

71

4369619

Cylinder

(SUB FOR (2) AT214122)

2шт.

72

H132922

Cotter Pin

4шт.

75

4474499

Roller

1шт.

76

4474514

Bracket

2шт.

77

4609477

Bracket

(RH) (SUB FOR 4474513)

1шт.

4609480

Isolator

1шт.

78

4609479

Screw

(SUB FOR 4444634)

12шт.

4609479

Screw

12шт.

80

4474518

Stop

1шт.

81

4474517

Stop

1шт.

82

21M7258

Screw

M4 X 8

4шт.

83

4459249

Washer

4шт.

84

4609478

Bracket

(LH) (SUB FOR 4474513)

1шт.

4609480

Isolator

1шт.

Выбрано товаров: 43