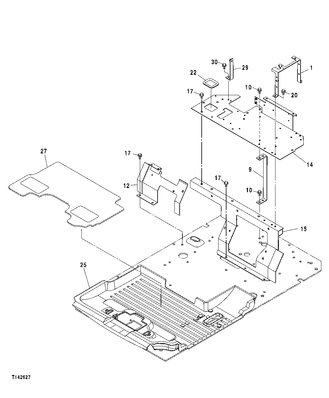
Запчасти John Deere 00C 172 - PLATFORM AND MAT 1810 OPERATOR ENCLOSURE

Схема запчастей John Deere 00C - 172 - PLATFORM AND MAT 1810 OPERATOR ENCLOSURE
FIT
1:1
100%

Артикул

Название

Примечание

Количество

1

7039389

Bracket

SUB FOR TH7039389

1шт.

9

8076619

Support

SUB FOR TH8076619

1шт.

10

19M7402

Cap Screw

M10 X 25

3шт.

12M7066

Lock Washer

10 mm

3шт.

12

6019838

Bracket

SUB FOR TH6019838

1шт.

14

6019252

Bracket

SUB FOR TH6019252

1шт.

15

5007342

Bracket

SUB FOR TH5007342

1шт.

17

19M7402

Cap Screw

M10 X 25

7шт.

12M7066

Lock Washer

10 mm

7шт.

24M7028

Washer

10.500 X 20 X 2 mm

7шт.

20

19M7881

Screw

M8 X 20

2шт.

Washer

12M7065 NLA

2шт.

22

4445220

Bushing

SUB FOR TH4445220

1шт.

25

0003929

Mat

SUB FOR TH0003929

1шт.

27

4448601

Mat

SUB FOR TH4448601

1шт.

29

9757192

Bracket

SUB FOR TH9757192

1шт.

30

19M8425

Cap Screw

M6 X 16

2шт.

12M7006

Lock Washer

6 mm

2шт.

24M7293

Washer

6.500 X 13 X 1.600 mm

2шт.

Выбрано товаров: 0