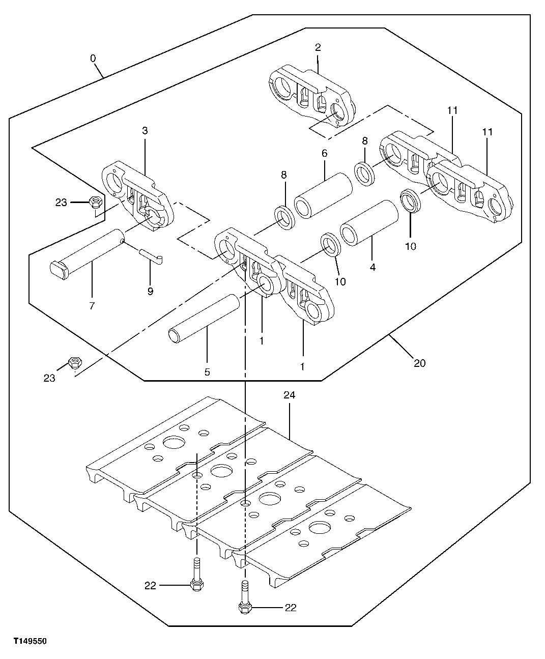
Запчасти John Deere 00C 10 - TRACK-LINK 900G 0130 TRACK SYSTEMS

Схема запчастей John Deere 00C - 10 - TRACK-LINK 900G 0130 TRACK SYSTEMS
FIT
1:1
100%

Артикул

Название

Примечание

Количество

0

9159245

Track Assembly With Shoes

2шт.

1

1022316

Track Link

(SUB FOR TH4345167 OR 4345167)

50шт.

2

3075263

Master Track Link

(SUB FOR 4345168)

1шт.

3

3075264

Track Link

(SUB FOR 4345169)

1шт.

4

3073867

Bushing

(SUB FOR TH4218733 OR 4218733)

50шт.

5

3075265

Pin Fastener

(SUB FOR TH4345170 OR 4345170)

50шт.

6

3073869

Bushing

(SUB FOR TH4218735 OR 4218735)

1шт.

7

4345171

Master Track Pin

(SUB FOR TH4345171)

1шт.

8

4345172

Bushing

(SUB FOR TH4345172)

2шт.

9

4357880

Pin Fastener

(SUB FOR 4051870)

1шт.

10

4366138

Seal

(SUB FOR TH4345173 OR 4345173)

100шт.

11

1022315

Track Link

(SUB FOR TH4345166 OR 4345166)

50шт.

20

9172475

Track Chain W/O Shoes

(SUB FOR TH9152643 OR 9152643)

1шт.

22

4218740

Track Bolt

(SUB FOR TH4218740)

204шт.

23

4218741

Nut

(SUB FOR TH4218741)

204шт.

24

4252719

Open Center 2 Bar Shoe

(SUB FOR TH4252719)

51шт.

Выбрано товаров: 16