Запчасти John Deere 00C 199 - COVER FRAME 1910 HOOD OR ENGINE ENCLOSURE

Схема запчастей John Deere 00C - 199 - COVER FRAME 1910 HOOD OR ENGINE ENCLOSURE
FIT
1:1
100%

Артикул

Название

Примечание

Количество

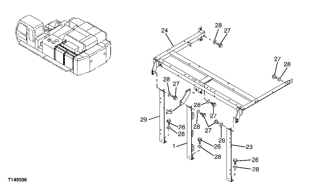
1

8083197

Frame

1шт.

23

Frame

( 8083198 NLA) (SUB 8099203, 7047 677, 14M7275, 12H301 AND 24M7345)

1шт.

8099203

Cab Frame

1шт.

24

6019901

Bracket

1шт.

25

9756235

Plate

1шт.

26

19M8011

Cap Screw

M12 X 30

6шт.

12M7058

Lock Washer

12 mm (SUB FOR 12M7067)

6шт.

24M7345

Washer

13.500 X 24 X 2.500 mm

6шт.

27

19M7493

Cap Screw

M12 X 40

12шт.

12H301

Lock Washer

1/2"

12шт.

19M7403

Cap Screw

M12 X 35

12шт.

24M7345

Washer

13.500 X 24 X 2.500 mm

12шт.

28

24M7345

Washer

13.500 X 24 X 2.500 mm

18шт.

29

Frame

( 8088124 NLA) (SUB 8099202, 7047 194, 14M7275, 12H301 AND 24M7345)

1шт.

8099202

Cab Frame

1шт.

Выбрано товаров: 15