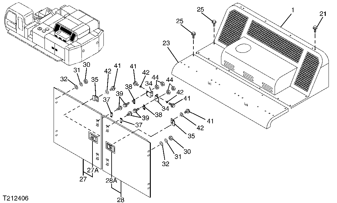
Запчасти John Deere 00C 205 - COVER 1910 HOOD OR ENGINE ENCLOSURE

Схема запчастей John Deere 00C - 205 - COVER 1910 HOOD OR ENGINE ENCLOSURE
FIT
1:1
100%

Артикул

Название

Примечание

Количество

1

5007566

Cover

1шт.

21

19M7363

Cap Screw

M12 X 60

4шт.

12M7058

Lock Washer

12 mm (SUB FOR 12M7067)

4шт.

24M7180

Washer

13 X 37 X 3 mm

4шт.

23

8083179

Cover

1шт.

25

19M8011

Cap Screw

M12 X 30

20шт.

12M7058

Lock Washer

12 mm (SUB FOR 12M7067)

20шт.

24H1748

Washer

1/2" X 1-1/4" X 0.105"

20шт.

27

Door

( 7042980 NLA) (SUB 8099202, 7047 194, 14M7275, 12H301 AND 24M7345)

1шт.

7047194

Door

1шт.

27A

4361763

Lock

(SUB FOR TH110126)

1шт.

28

Door

( 7042981 NLA) (SUB 8099203, 70 47677, 14M7275, 12H301, 24M7345)

1шт.

7047677

Door

1шт.

28A

4361763

Lock

(SUB FOR TH110898)

1шт.

30

14M7275

Nut

M12 (SUB FOR J950012)

8шт.

31

12H301

Lock Washer

1/2" (SUB FOR A590912)

8шт.

32

24M7345

Washer

13.500 X 24 X 2.500 mm (SUB FOR J222012)

8шт.

34

Bracket

( 4478435 NLA) (SUB FOR TH4353488 ) (SUB 976 4958, 4609950, 19M8359, 24M7055 AND 14M7273)

4шт.

9764958

Bracket

4шт.

35

4450838

Stop

2шт.

37

4175253

Bracket

(SUB FOR AT318015, AT154915)

4шт.

38

Stop

( 4424157 NLA) (SUB FOR AT184717 ) (SUB 976 4958, 4609950, 19M8359, 24M7055 AND 14M7273)

4шт.

4609950

Stop

4шт.

39

19M7923

Cap Screw

M6 X 12 (SUB FOR 19M6614)

4шт.

12M7006

Lock Washer

6 mm

4шт.

24M7293

Washer

6.500 X 13 X 1.600 mm

4шт.

19M8359

Cap Screw

M8 X 45

4шт.

24M7055

Washer

8.400 X 16 X 1.600 mm

4шт.

41

19M7403

Cap Screw

M12 X 35

12шт.

12H301

Lock Washer

1/2"

12шт.

19M8011

Cap Screw

M12 X 30

12шт.

42

4249324

Washer

(SUB FOR TH4249324)

12шт.

44

14M7273

Nut

M8

8шт.

Выбрано товаров: 33