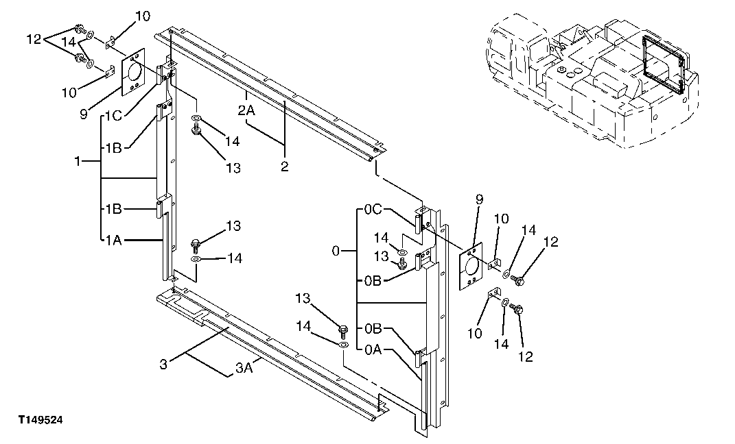
Запчасти John Deere 00C 216 - COMPARTMENT INSULATION 1910 HOOD OR ENGINE ENCLOSURE

Схема запчастей John Deere 00C - 216 - COMPARTMENT INSULATION 1910 HOOD OR ENGINE ENCLOSURE
FIT
1:1
100%

Артикул

Название

Примечание

Количество

0

8083717

Cover

1шт.

0A

4452714

Isolator

1шт.

0B

4452715

Isolator

2шт.

0C

4461243

Isolator

1шт.

1

8083718

Cover

1шт.

1A

4452714

Isolator

1шт.

1B

4452715

Isolator

2шт.

1C

4461243

Isolator

1шт.

2

8083719

Cover

1шт.

2A

4452718

Isolator

1шт.

3

8083720

Cover

1шт.

3A

4452719

Isolator

1шт.

9

4452713

Isolator

2шт.

10

4447014

Plate

4шт.

12

19M7662

Cap Screw

M10 X 30

8шт.

12M7066

Lock Washer

10 mm

8шт.

13

19M7402

Cap Screw

M10 X 25

26шт.

12M7066

Lock Washer

10 mm

26шт.

14

24M7346

Washer

11 X 20 X 2 mm

34шт.

Выбрано товаров: 19