Запчасти John Deere 00C 329 - HYDRAULIC ARM CYLINDER 3365 HYDRAULIC CYLINDERS

Схема запчастей John Deere 00C - 329 - HYDRAULIC ARM CYLINDER 3365 HYDRAULIC CYLINDERS
FIT
1:1
100%

Артикул

Название

Примечание

Количество

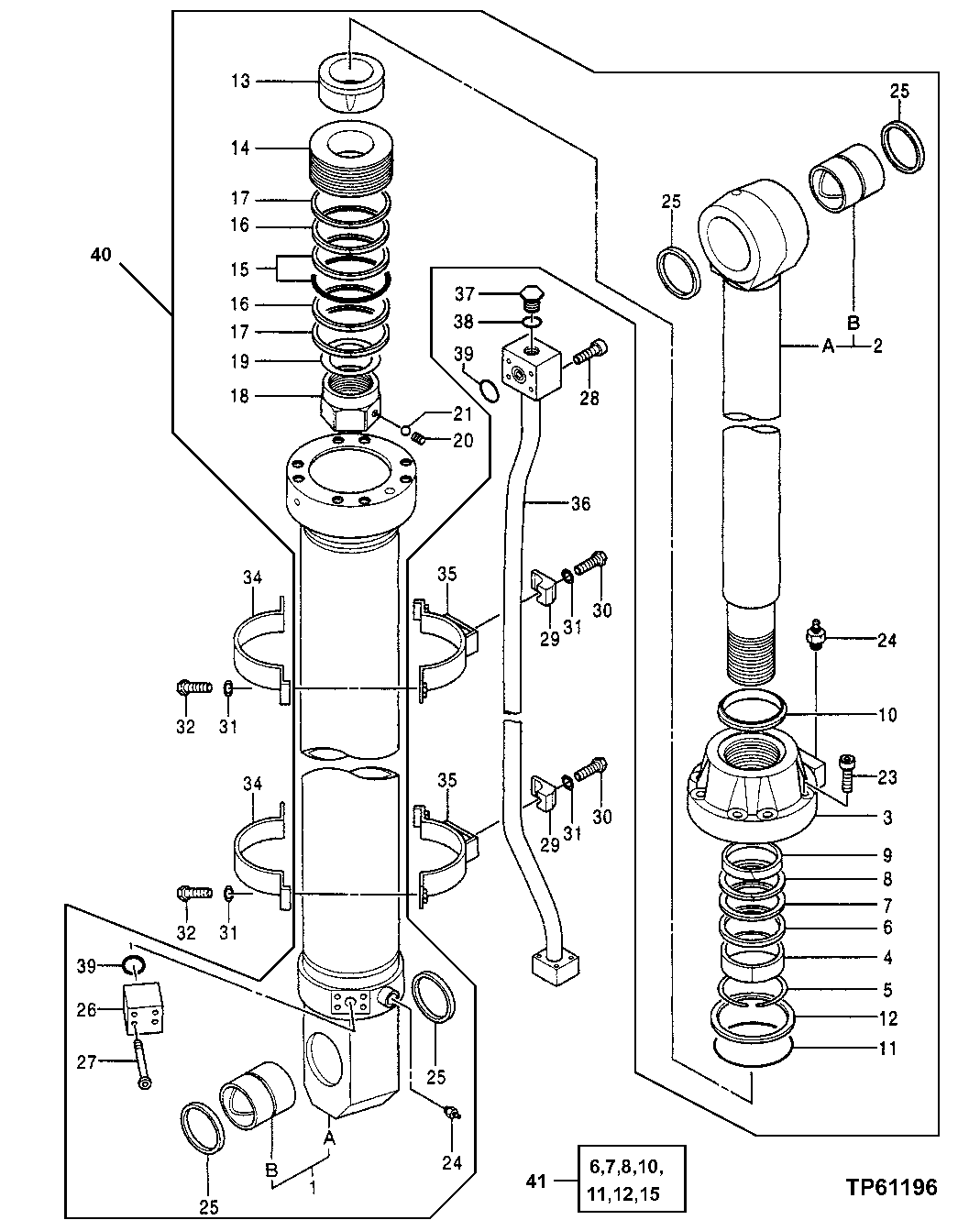
1

4391312

Hydraulic Cylinder Barrel

SUB FOR TH4391312

1шт.

Hyd Cylinder Barrel Reman

PG201423 NLA, ORDER 4391312, REMAN

1шт.

1A

Tube

SUB FOR 0702701 OR TH0702701

1шт.

1B

4674500

Bushing

SUB FOR TH0702701

1шт.

2

4391313

Rod

SUB FOR TH4391313

1шт.

Cylinder Reman

PG201425 NLA, ORDER 4391313, REMAN

1шт.

2A

Rod

1шт.

2B

4674500

Bushing

SUB FOR 0702701 OR TH0702701

1шт.

3

0702702

Hydr. Cylinder Rod Guide

SUB FOR TH0702702

1шт.

4

0379905

Bushing

SUB FOR TH0379905

1шт.

5

0834707

Ring

SUB FOR TH0160706 OR 0160706

1шт.

6

0964305

Seal

SUB FOR TH0392303 OR 4S00094

1шт.

7

TH4070027

Seal

1шт.

8

0242706

Ring

SUB FOR TH0242706 OR 4S00082

1шт.

9

Ring

0394005 NLA, SUB FOR TH0 392304, 4S00148 OR 4S01102

1шт.

10

0978105

Ring

SUB FOR 4429148

1шт.

11

4113165

O-Ring

SUB FOR TH4113165

1шт.

12

0379908

Back-Up Ring

SUB FOR TH0379908

1шт.

13

0379909

Bushing

SUB FOR TH0379909

1шт.

14

0702703

Piston

SUB FOR TH0702703

1шт.

15

0392305

Ring

SUB FOR 4S01027

1шт.

16

0702704

Ring

SUB FOR TH0702704

2шт.

17

0394008

Ring

SUB FOR TH0392306, 4S00162 OR 4S01103

2шт.

18

0379914

Nut

SUB FOR TH0379914

1шт.

19

0379915

Shim

SUB FOR TH0379915

1шт.

20

0379815

Set Screw

SUB FOR TH0379815

1шт.

21

0109124

Ball

SUB FOR TH0109124

1шт.

23

0343305

Cap Screw

SUB FOR TH0343305

8шт.

24

0643016

Bleed Valve

SUB FOR TH0643016

2шт.

25

4205000

Seal

SUB FOR TH4205000, 4S00225 OR 4S00817

4шт.

26

0191612

Manifold

SUB FOR TH0191612

1шт.

27

0191616

Cap Screw

SUB FOR TH0191616

4шт.

28

19M8564

Screw

M16 X 110 SUB FOR TH0191916

4шт.

29

0978313

Clamp

SUB FOR 0379917 OR TH0379917

2шт.

30

T84067

Screw

SUB FOR TH0379918

2шт.

31

12H317

Lock Washer

9/16"

6шт.

32

19M9169

Cap Screw

M14 X 50 SUB FOR P61969 OR TH0379919

4шт.

34

0702705

Half Clamp

SUB FOR TH0702705

2шт.

35

0702706J

Half Clamp

SUB FOR 0702706 OR TH0702706

2шт.

36

8095849

Line

SUB FOR TH0493603 OR 0493603

1шт.

37

0349308

Plug

SUB FOR TH0349308

1шт.

38

992444

O-Ring

SUB FOR TH108863 OR 4509931

1шт.

39

4069900

O-Ring

SUB FOR TH106976

2шт.

40

4391311JEX

Hydraulic Cylinder Reman

REMAN; SUB FOR TH4391311

1шт.

41

4436496

Seal Kit

SUB FOR 4337107

1шт.

Выбрано товаров: 45