Запчасти John Deere 00C 32 - EXHAUST MANIFOLD 0410 EXHAUST MANIFOLD

Схема запчастей John Deere 00C - 32 - EXHAUST MANIFOLD 0410 EXHAUST MANIFOLD
FIT
1:1
100%

Артикул

Название

Примечание

Количество

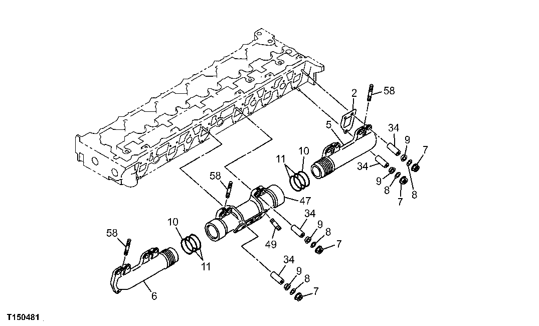
2

1141451821

Gasket

(A) SUB FOR AT263777, B

6шт.

5

1141419990

Exhaust Manifold

SUB FOR AT264079

1шт.

6

1141420010

Exhaust Manifold

SUB FOR AT264080

1шт.

7

0911802100

Nut

SUB FOR TH4447336, 4447336

18шт.

8

1095560150

Washer

(SUB FOR AT263911)TK = 2.2 SUB FOR (1) AT263911

18шт.

9

1141490420

Washer

(SUB FOR AT264081)TK = 5.5 SUB FOR (1) AT264081

18шт.

10

1141492010

Seal

SUB FOR AT264082

2шт.

11

9141490261

Ring

SUB FOR AT264158 AND 9141490260

4шт.

34

Spacer

(SUB FOR AT264119 LGTH = 43) SUB FOR (1) AT264119, 8943964060 NLA

18шт.

47

1141419380

Exhaust Manifold

SUB FOR AT264078

1шт.

49

8973780710

Stud

SUB FOR AT263905 OR 1093021671

4шт.

58

0410108200

Stud

(SUB FOR AT255006 OR 9041108200)M8 X 20, L = 32 SUB FOR (1) AT255006 OR (1) 9041108200

4шт.

Выбрано товаров: 12