Запчасти John Deere 00C 47 - FUEL PUMP AND LINES 0421 FUEL TRANSFER PUMP

Схема запчастей John Deere 00C - 47 - FUEL PUMP AND LINES 0421 FUEL TRANSFER PUMP
FIT
1:1
100%

Артикул

Название

Примечание

Количество

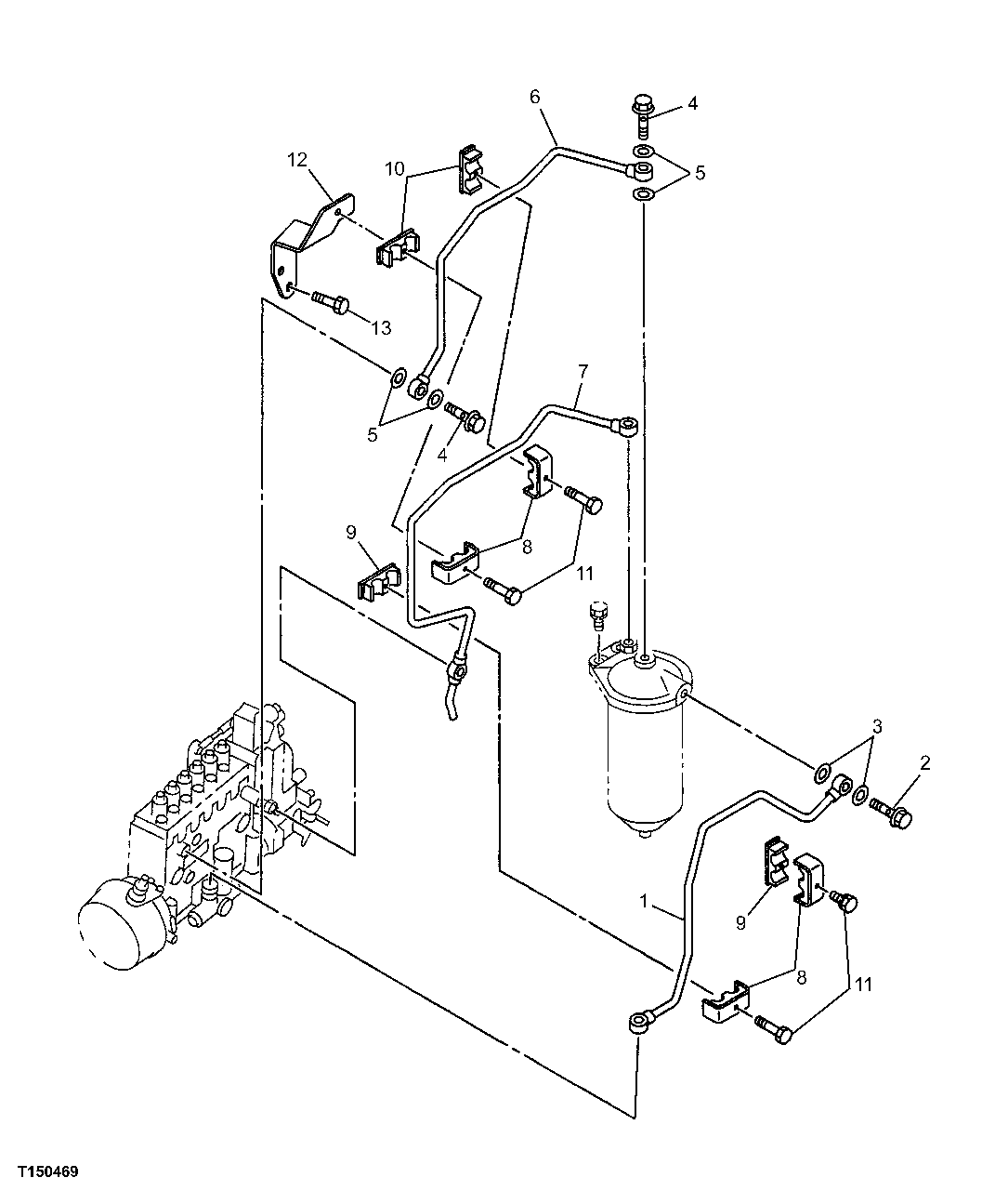
1

1154166400

Oil Line

SUB FOR AT263839

1шт.

2

1096750860

Bolt

SUB FOR AT263712, M14 X 27 FLANGE

1шт.

3

8982513450

Packing

(A) SUB FOR AT263852 AND 445 2165, (B) OD = 14.2, OD = 19.2

2шт.

4

1096750860

Bolt

SUB FOR AT263712, M14 X 27 FLANGE

1шт.

5

8982513450

Packing

(A) SUB FOR AT263852 AND 445 2165, (B) ID = 14.2, OD = 19.2

1шт.

6

1154166390

Fuel Line

SUB FOR AT263840

5шт.

7

1154166380

Fuel Line

SUB FOR AT263841

1шт.

8

8943932803

Clip

SUB FOR AT264118, 8943932801 OR 89 43932802, ID = 10 AND 10, LGTH = 25

1шт.

9

8943930391

Clamp

SUB FOR AT264117, ID = 10 AND 10, LGTH = 25

3шт.

10

1097011800

Clamp

SUB FOR AT263954

1шт.

11

0282806300

Bolt

M6 X 30 FLANGE SUB FOR AT191642 AND AT259921

5шт.

12

1154196810

Bracket

SUB FOR AT264092

1шт.

13

0280508160

Bolt

M8 X 16 FLANGE SUB FOR AT259924 OR 0280808160

2шт.

Выбрано товаров: 13