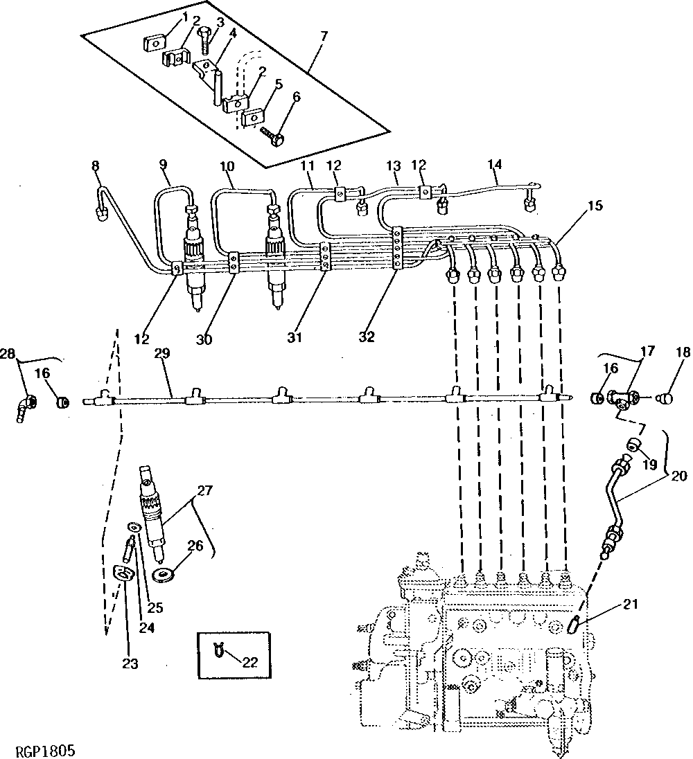
Запчасти John Deere 90 4 - FUEL INJECTION NOZZLES AND FUEL LINES 413 - ENGINE 4

Схема запчастей John Deere 90 - 4 - FUEL INJECTION NOZZLES AND FUEL LINES 413 - ENGINE 4
FIT
1:1
100%

Артикул

Название

Примечание

Количество

1

R61144

STRAP

1шт.

2

R58186

CLAMP

2шт.

3

19H3219

CAP SCREW

3/8" X 1-3/8"

1шт.

4

AR85495

BRACKET

1шт.

5

R59305

STRAP

1шт.

6

21H1463

CAP SCREW

0.190" X 7/8"

1шт.

7

AR85496

KIT

(NLA) (ORDER INDIVIDUAL COMPONENTS)

1шт.

8

AR73446

FUEL LINE

NO. 6

1шт.

9

AR73445

FUEL LINE

NO. 5

1шт.

10

AR73444

FUEL LINE

NO. 4

1шт.

11

AR73443

FUEL LINE

NO. 3

1шт.

12

R61144

STRAP

3шт.

R58186

CLAMP

6шт.

R59305

STRAP

3шт.

12M7060

WASHER

5.300 MM

3шт.

21H1463

CAP SCREW

0.190" X 7/8"

3шт.

13

AR73442

FUEL LINE

NO. 2

1шт.

14

AR73441

FUEL LINE

NO. 1

1шт.

15

R58189

CLAMP

1шт.

R58188

CLAMP

1шт.

R59301

REINFORCEMENT

1шт.

12M7060

WASHER

5.300 MM

5шт.

21H1463

CAP SCREW

0.190" X 7/8"

5шт.

16

R79138

SLEEVE

2шт.

17

AR85518

TEE FITTING

1шт.

18

AR85519

PLUG

1шт.

19

R51936

SEALING WASHER

2шт.

20

AR85520

FUEL LINE

1шт.

21

R67364

ELBOW FITTING

1шт.

22

R69319

CLAMP

(SUB FOR C12999 OR AR48236) (SUB R76170) (REPLACES TY22462, THIS APPLICATION)

6шт.

23

R76170

CLAMP

6шт.

24

R59293

FITTING

(SUB (6) R87082 AND (6) R77551, THIS APPLICATION)

6шт.

R87082

FITTING

(ALSO ORDER R77551) (SUB FOR R59293 OR R83558, THIS APPLICATION)

6шт.

25

R59294

SEALING RING

(USE WITH R59293 OR R83558)

6шт.

R77551

O-RING

(USE WITH R87082)

6шт.

26

R64840

WASHER

6шт.

27

AR73100

NOZZLE HOLDER

6шт.

SE500100

INJECTION NOZZLE REMAN

(REMANUFACTURED)

6шт.

SE501109

INJECTION NOZZLE REMAN

(SINGLE PACK) (REMANUFACTURED FOR AR73100)

ARшт.

28

AR85517

ADAPTER FITTING

1шт.

29

AR104650

FUEL LINE

(SUB FOR AR85516 AND AR90476)

1шт.

30

R61145

STRAP

1шт.

R59297

HALF CLAMP

2шт.

R59298

STRAP

1шт.

12M7060

WASHER

5.300 MM

2шт.

21H1463

CAP SCREW

0.190" X 7/8"

2шт.

31

R61146

STRAP

1шт.

R59299

CLAMP

2шт.

R59300

STRAP

1шт.

12M7060

WASHER

5.300 MM

3шт.

21H1463

CAP SCREW

0.190" X 7/8"

3шт.

32

R61147

RETAINER

1шт.

R59302

CLAMP

2шт.

R59304

REINFORCEMENT

1шт.

12M7060

WASHER

5.300 MM

5шт.

21H1463

CAP SCREW

0.190" X 7/8"

5шт.

Выбрано товаров: 56