Запчасти John Deere 90 6 - FUEL INJECTION NOZZLES AND FUEL LINES 413 - ENGINE 4

Схема запчастей John Deere 90 - 6 - FUEL INJECTION NOZZLES AND FUEL LINES 413 - ENGINE 4
FIT
1:1
100%

Артикул

Название

Примечание

Количество

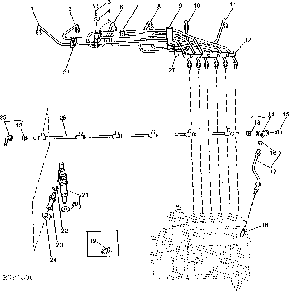
1

RE13596

FUEL LINE

NO. 6, (SUB FOR AR87442)

1шт.

2

RE13595

FUEL LINE

NO. 5, (SUB FOR AR87441)

1шт.

3

19H1849

CAP SCREW

5/16" X 1-1/4"

2шт.

4

12H303

LOCK WASHER

5/16"

2шт.

5

R67195

STRAP

1шт.

R67196

CLAMP

2шт.

R67197

STRAP

1шт.

6

RE13594

FUEL LINE

NO. 4, (SUB FOR AR87440)

1шт.

7

R61144

STRAP

1шт.

R58186

CLAMP

2шт.

R59305

STRAP

1шт.

AR76704

SCREW

0.190" X 1"

1шт.

8

RE13593

FUEL LINE

NO. 3, (SUB FOR AR87439)

1шт.

9

19H3552

CAP SCREW

5/16" X 1-1/2"

2шт.

12H303

LOCK WASHER

2шт.

R67195

STRAP

(SUB R74660 AND R74661)

1шт.

R67196

CLAMP

(SUB R74660 AND R74661)

4шт.

R67197

STRAP

(SUB R74660 AND R74661)

1шт.

R74660

ABSORBER

(INNER)

1шт.

R74661

ABSORBER

(OUTER)

1шт.

10

RE13592

FUEL LINE

NO. 2, (SUB FOR AR87438)

1шт.

11

RE13591

FUEL LINE

NO. 1, (SUB FOR AR87437)

1шт.

12

R58189

CLAMP

1шт.

R58188

CLAMP

1шт.

R59301

REINFORCEMENT

1шт.

AR76704

SCREW

0.190" X 1"

5шт.

13

R79138

SLEEVE

2шт.

14

AR85518

TEE FITTING

1шт.

15

AR85519

PLUG

1шт.

R51937

TUBE NUT

1шт.

16

R51936

SEALING WASHER

2шт.

17

AR85520

FUEL LINE

1шт.

18

R67364

ELBOW FITTING

1шт.

19

TY22462

CLAMP

(SUB FOR AR48236 OR R69319) (SUB R76170)

6шт.

20

R64840

WASHER

6шт.

21

AR73100

NOZZLE HOLDER

(SUB FOR AR73847, THIS APPLICATION)

6шт.

SE500100

INJECTION NOZZLE REMAN

(REMANUFACTURED)

6шт.

SE501109

INJECTION NOZZLE REMAN

(SINGLE PACK) (REMANUFACTURED FOR AR73100)

ARшт.

22

R59294

SEALING RING

(USE WITH R59293 OR R83558)

6шт.

R77551

O-RING

(USE WITH R87082)

6шт.

23

R59293

FITTING

(USE WITH AR90476) (SUB (6) R87082 AND (6) R77551, THIS APPLICATION)

6шт.

R87082

FITTING

(SUB FOR R59293 AND R83558) (ALSO ORDER R77551)

6шт.

24

R76170

CLAMP

6шт.

25

AR85517

ADAPTER FITTING

1шт.

26

AR90476

FUEL LINE

(SUB FOR AR85516) (SUB RE11929 AND RE503092) (ALSO ORDER (2) R79138)

1шт.

27

R61145

STRAP

2шт.

R59297

HALF CLAMP

4шт.

R59298

STRAP

2шт.

AR76704

SCREW

0.190" X 1"

4шт.

Выбрано товаров: 49