Запчасти John Deere 90 10 - FUEL INJECTION NOZZLES AND FUEL LINES 413 - ENGINE 4

Схема запчастей John Deere 90 - 10 - FUEL INJECTION NOZZLES AND FUEL LINES 413 - ENGINE 4
FIT
1:1
100%

Артикул

Название

Примечание

Количество

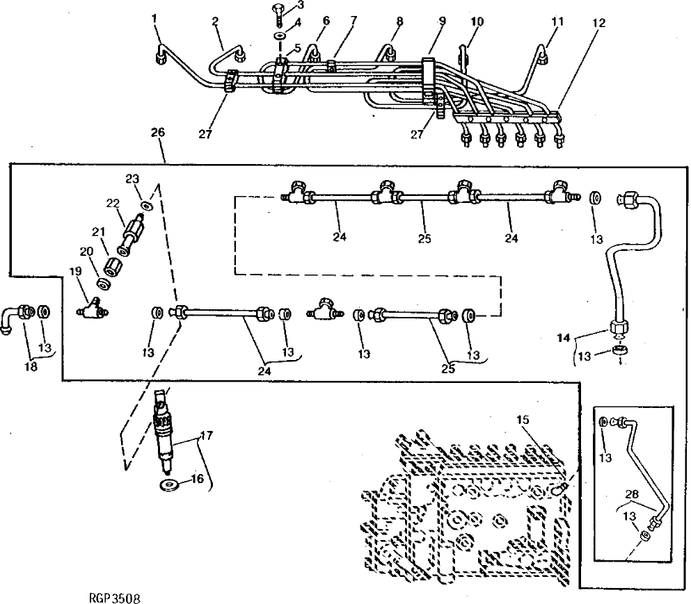
1

RE13596

FUEL LINE

NO. 6, (SUB FOR AR87442)

1шт.

2

RE13595

FUEL LINE

NO. 5, (SUB FOR AR87441)

1шт.

3

19H1849

CAP SCREW

5/16" X 1-1/4"

2шт.

4

12H303

LOCK WASHER

5/16"

2шт.

5

R67197

STRAP

2шт.

R67195

STRAP

1шт.

R67196

CLAMP

2шт.

R67197

STRAP

1шт.

6

RE13594

FUEL LINE

NO. 4, (SUB FOR AR87440)

1шт.

7

R61144

STRAP

1шт.

R58186

CLAMP

2шт.

R59305

STRAP

1шт.

AR76704

SCREW

0.190" X 1"

1шт.

8

RE13593

FUEL LINE

NO. 3, (SUB FOR AR87439)

1шт.

9

R74660

ABSORBER

(INNER)

1шт.

R74661

ABSORBER

(OUTER)

1шт.

10

RE13592

FUEL LINE

NO. 2, (SUB FOR AR87438)

1шт.

11

RE13591

FUEL LINE

NO. 1, (SUB FOR AR87437)

1шт.

12

R58189

CLAMP

1шт.

R58188

CLAMP

1шт.

R59301

REINFORCEMENT

1шт.

AR76704

SCREW

0.190" X 1"

5шт.

13

R51936

SEALING WASHER

13шт.

14

RE42283

FUEL LINE

(SUB FOR RE11925)

1шт.

15

R67364

ELBOW FITTING

1шт.

16

R64840

WASHER

6шт.

17

AR73100

NOZZLE HOLDER

6шт.

SE500100

INJECTION NOZZLE REMAN

(REMANUFACTURED)

6шт.

SE501109

INJECTION NOZZLE REMAN

(SINGLE PACK) (REMANUFACTURED FOR AR73100)

ARшт.

18

AR104650

FUEL LINE

(SUB FOR RE503092)

1шт.

19

AR85618

CAP

(SUB R79604, R79605, R79606, THIS APPLICATION)

6шт.

R79606

TEE FITTING

6шт.

20

R79605

WASHER

(SUB FOR T29539)

6шт.

21

R79604

TUBE NUT

(SUB FOR T29540)

6шт.

22

R77850

FITTING

(SUB R89175 AND R77551) (USE WITH RE11929)

6шт.

R89175

FITTING

(ALSO ORDER R77551) (USE WITH RE11929)

6шт.

23

R59294

SEALING RING

(USE WITH R77850)

6шт.

R77551

O-RING

(USE WITH R89175)

6шт.

24

RE11926

FUEL LINE

3шт.

25

RE11927

FUEL LINE

2шт.

26

RE11929

KIT

1шт.

27

R61145

STRAP

2шт.

R59297

HALF CLAMP

4шт.

R59298

STRAP

2шт.

AR76704

SCREW

0.190" X 1"

4шт.

28

RE11925

FUEL LINE

(SUB RE42283)

1шт.

Выбрано товаров: 46