Запчасти John Deere 90 6 - STARTER DRIVE END HOUSING AND DRIVE 422 - ENGINE 4

Схема запчастей John Deere 90 - 6 - STARTER DRIVE END HOUSING AND DRIVE 422 - ENGINE 4
FIT
1:1
100%

Артикул

Название

Примечание

Количество

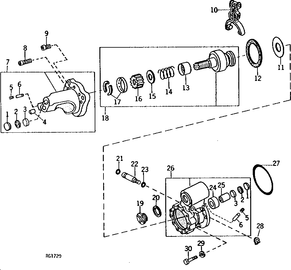
1

R68630

PLUG

4шт.

2

R68631

GASKET

4шт.

3

R68629

FELT

4шт.

4

R11147

BUSHING

1шт.

5

15H566

PIPE PLUG

1/8"

2шт.

6

R40337

WICK

2шт.

7

AR48343

HOUSING

(SUB AR102762)

1шт.

8

19H2928

SCREW

5/16" X 1-1/2"

5шт.

9

19H2899

SCREW

5/16" X 0.880"

1шт.

10

AR11081

LEVER

1шт.

11

1911644

WASHER

1шт.

12

R11140

GASKET

1шт.

13

R46194

BEARING

(NLA)

1шт.

14

R46196

SPRING

(NLA)

1шт.

15

R46195

WASHER

(NLA)

1шт.

16

PINION

(NLA)

1шт.

17

AR48344

KIT

1шт.

18

AR48342

DRIVE

(SUB AR102761)

1шт.

19

R11133

PLUG

1шт.

20

R11121

GASKET

1шт.

21

A3917R

O-RING

1шт.

22

R11136

SHAFT

1шт.

23

A4365R

O-RING

1шт.

24

R11273

SEAL

1шт.

25

R11017

BUSHING

1шт.

26

AR11329

HOUSING

(SUB AR102760)

1шт.

27

R11120

O-RING

1шт.

28

R11026

SNAP RING

1шт.

29

12H302

LOCK WASHER

1/4"

7шт.

30

19H3005

CAP SCREW

1/4" X 1"

7шт.

AR102771

STARTER MOTOR

(SUB RE69591 OR TY6699)

1шт.

Выбрано товаров: 31