Запчасти John Deere 90 2 - 310-MINUTE RESERVE CAPACITY BATTERIES WITH CABLES AND MOUNTING 1671 - ELECTRICAL SYSTEMS 16

Схема запчастей John Deere 90 - 2 - 310-MINUTE RESERVE CAPACITY BATTERIES WITH CABLES AND MOUNTING 1671 - ELECTRICAL SYSTEMS 16
FIT
1:1
100%

Артикул

Название

Примечание

Количество

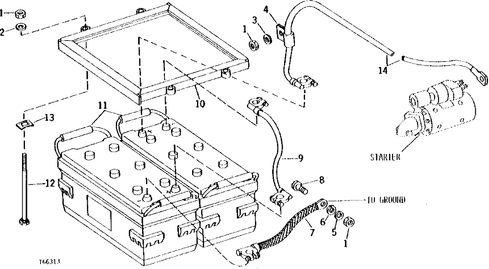
1

14H812

NUT

3/8"

6шт.

2

24M7101

WASHER

11 X 34 X 3 MM

4шт.

3

12H304

LOCK WASHER

3/8"

1шт.

4

T38377

CLAMP

(SUB FOR T24958, THIS APPLICATION) (USE WITH AR88485)

1шт.

5

24H1219

WASHER

7/16" X 1" X 0.083"

1шт.

6

12H331

LOCK WASHER

3/8"

1шт.

7

AT132773

GROUND CABLE

(SUB FOR AT25418)

1шт.

8

03H1765

BOLT

3/8" X 3/4"

1шт.

9

AT41131

BATTERY CABLE

(SUB FOR AR46231)

1шт.

10

AT46397

FRAME

1шт.

11

TY21754

DRY CHARGED BATTERY

DRY AND CHARGED, 12-VOLT, 800 COLD CRANKING AMPS AT -18°C (0°F), 310-MINUTE RESERVE CAPACITY, (SUB FOR AU42915 AND TY6105)

2шт.

12

BOLT

( 03H2221 NO LONGER AVAILABLE)

4шт.

13

U44618

PUSH NUT

4шт.

14

AR88485

BATTERY CABLE

(SUB FOR AR53096, THIS APPLICATION) (ALSO ORDER T38377)

1шт.

Выбрано товаров: 14