Запчасти John Deere 90 4 - COUNTERWEIGHT 1749 - FRAME, CHASSIS, OR SUPPORTING STRUCTURE 17

Схема запчастей John Deere 90 - 4 - COUNTERWEIGHT 1749 - FRAME, CHASSIS, OR SUPPORTING STRUCTURE 17
FIT
1:1
100%

Артикул

Название

Примечание

Количество

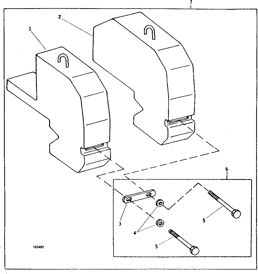
1

COUNTERWEIGHT

( T66033 NO LONGER AVAILABLE) INNER (ALSO ORDER (2) T66032 AND AT62519, THIS APPLICATION)

2шт.

2

COUNTERWEIGHT

OUTER (ALSO ORDER (2) T66033 AND AT62519, THIS APPLICATION) ( T66032 NO LONGER AVAILABLE)

2шт.

3

T66034

STRAP

2шт.

4

R28575

WASHER

4шт.

5

08H4283

CAP SCREW

1" X 12-1/2"

4шт.

6

STRAP

( AT62519 NO LONGER AVAILABLE)

1шт.

7

WEIGHT

( AT62518, NO LONGER AVAILABLE)

1шт.

Выбрано товаров: 7