Запчасти John Deere 90 5 - AIR CONDITIONER REFRIGERANT LINES AND HOSES 1830 - OPERATORS STATION 18

Схема запчастей John Deere 90 - 5 - AIR CONDITIONER REFRIGERANT LINES AND HOSES 1830 - OPERATORS STATION 18
FIT
1:1
100%

Артикул

Название

Примечание

Количество

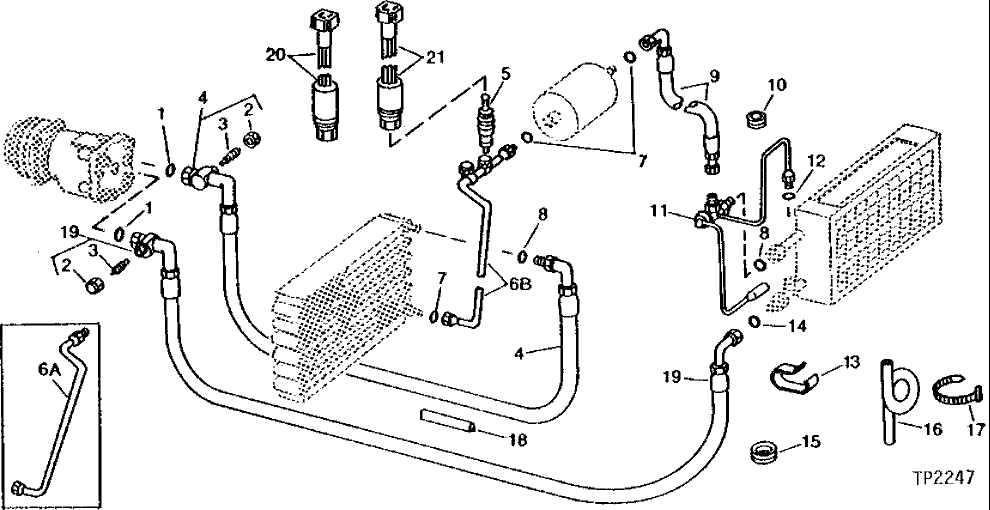
1

R47235

O-RING

2шт.

2

R60172

NUT

1шт.

3

R60170

VALVE

1шт.

4

AT56109

HOSE

1шт.

5

R60170

VALVE

1шт.

6A

AT56084

TUBE

(SUB AT63510)

1шт.

6B

AT63510

TUBE

1шт.

7

R10093

O-RING

4шт.

8

P51212

O-RING

2шт.

9

AT56083

REFRIGERANT HOSE

1шт.

10

T58739

GROMMET

(SUB FOR T58841, THIS APPLICATION)

1шт.

11

AR58482

VALVE

EXPANSION

1шт.

AT62543

THERMOSTATIC CONTROL VALVE

1шт.

12

R34812

O-RING

1шт.

13

R66645

CLIP

(SUB FOR R50480)

3шт.

14

R33259

O-RING

1шт.

15

MOLDING

(MAKE FROM T58056) (SUB FOR T46876, THIS APPLICATION)

ARшт.

16

T16946

HOSE

1шт.

17

H77698

TIE BAND

(SUB FOR T44946)

2шт.

18

MOLDING

(MAKE FROM T58056) (SUB FOR T61798, THIS APPLICATION)

ARшт.

19

AT56108

HOSE

1шт.

20

AT63266

SWITCH

LOW PRESSURE

1шт.

21

AT63265

SWITCH

HIGH PRESSURE

1шт.

Выбрано товаров: 23