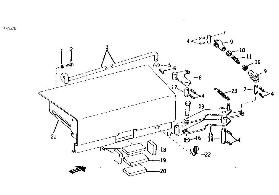
Запчасти John Deere 90 2 - RIGHT REAR FENDER 1927 - SHEET METAL AND STYLING 19

Схема запчастей John Deere 90 - 2 - RIGHT REAR FENDER 1927 - SHEET METAL AND STYLING 19
FIT
1:1
100%

Артикул

Название

Примечание

Количество

1

24H1161

WASHER

13/16" X 1-15/32" X 0.134"

3шт.

2

19H2716

CAP SCREW

3/4" X 1-1/2"

3шт.

3

T47118

ROD

1шт.

4

11M7015

COTTER PIN

3.200 X 25 MM

8шт.

5

24H1362

WASHER

41/64" X 1" X 0.075", (SUB FOR U46510)

1шт.

6

11M7030

COTTER PIN

5 X 40 MM

1шт.

7

U46245

PIN FASTENER

2шт.

8

AT45820

LATCH

(SUB AT61017 AND T59443)

1шт.

AT61017

LATCH

1шт.

9

T47112

YOKE

2шт.

10

14H826

NUT

1/2"

1шт.

14H826

NUT

1/2"

2шт.

11

K2019R

STUD

1шт.

T59443

STUD

1шт.

12

H148899

PIN

(SUB FOR T47111)

1шт.

13

19H2224

CAP SCREW

1/2" X 4-3/4"

1шт.

14

H148902

PIN

(SUB FOR T47108)

1шт.

15

AT45819

HANDLE

1шт.

AT62046

HANDLE

1шт.

16

K40014

LOCK NUT

(SUB FOR T27645)

1шт.

17

T47106

BUSHING

1шт.

18

T59937

ISOLATOR

(SUB FOR T57674)

2шт.

19

T57673

ISOLATOR

2шт.

20

T57672

ISOLATOR

1шт.

21

AT45821

FENDER

1шт.

22

AT51505

QUICK LOCK PIN

1шт.

23

R42783

EXTENSION SPRING

1шт.

Выбрано товаров: 27