Запчасти John Deere 90 16 - REPLACEMENT CROWD CYLINDER 3360 - BACKHOE AND EXCAVATOR 33

Схема запчастей John Deere 90 - 16 - REPLACEMENT CROWD CYLINDER 3360 - BACKHOE AND EXCAVATOR 33
FIT
1:1
100%

Артикул

Название

Примечание

Количество

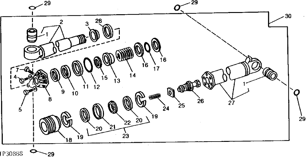
1

T46610

BUSHING

2шт.

2

AR90893

ROD

PISTON WITH BUSHING

1шт.

3

RE21199

SEAL

(RK)

1шт.

4

19H3313

CAP SCREW

1" X 4-1/2"

4шт.

5

19H3314

SCREW

1" X 5-1/4"

2шт.

6

T30636

WASHER

1-1/32" X 1-3/4" X 1/4"

6шт.

7

19H1895

CAP SCREW

1/2" X 3/4"

2шт.

8

R82282

HYDR. CYLINDER ROD GUIDE

(SUB FOR T46616)

1шт.

9

R83322

WEAR RING

(SUB FOR R82283)

1шт.

10

RE21200

SEAL

(RK)

1шт.

11

R78807

BACK-UP RING

(BK) (SUB FOR T46621, THIS APPLICATION)

1шт.

12

T46620

O-RING

(BK)

1шт.

13

T46625

POPPET

1шт.

14

T57339

SPRING

1шт.

15

T46629

WEAR RING

BRAKE

1шт.

16

R78808

BACK-UP RING

(RK) (SUB FOR T59925)

2шт.

17

T59924

RING

(RK)

1шт.

18

R77649

PISTON

1шт.

19

R77642

RING

(BK)

2шт.

20

BACK-UP RING

(SUB RE11563)

2шт.

21

SEAL

CAP, (SUB RE11563)

1шт.

22

SEAL

EXPANDER, (SUB RE11563)

1шт.

23

RE11563

SEAL

(BK)

1шт.

24

T57338

SPRING

1шт.

25

T57335

STRAP

1шт.

26

AT45325

POPPET

1шт.

27

RE13870

HYDRAULIC CYLINDER BARREL

(SUB FOR AR96280)

1шт.

28

RE21198

SEAL

(RK)

1шт.

29

T46611

SEAL

4шт.

30

RE21195

HYDRAULIC CYLINDER

1шт.

Выбрано товаров: 0