Запчасти John Deere 90 23 - BOOM, CROWD AND BUCKET CONTROL VALVE 3360 - BACKHOE AND EXCAVATOR 33

Схема запчастей John Deere 90 - 23 - BOOM, CROWD AND BUCKET CONTROL VALVE 3360 - BACKHOE AND EXCAVATOR 33
FIT
1:1
100%

Артикул

Название

Примечание

Количество

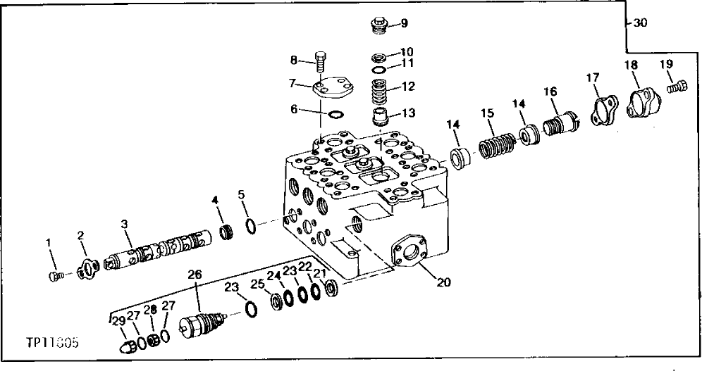
1

19H1895

CAP SCREW

1/2" X 3/4"

6шт.

2

T60353

FLANGE

3шт.

3

SPOOL

(SUB AT64252)

1шт.

4

T60354

SEAL

6шт.

5

T71981

O-RING

(SUB FOR T19687, THIS APPLICATION)

6шт.

6

U46457

O-RING

1шт.

7

T60356

PLATE

1шт.

8

T60355

CAP SCREW

4шт.

9

T60350

FITTING

3шт.

10

T60347

BACK-UP RING

3шт.

11

R30319

O-RING

3шт.

12

T60346

SPRING

3шт.

13

T60349

POPPET

3шт.

14

T60351

BUSHING

6шт.

15

T60348

SPRING

3шт.

16

T60352

SCREW

3шт.

17

T60353

FLANGE

3.048 MM (.120")

ARшт.

T72009

FLANGE

1.905 MM (.750")

ARшт.

T72010

GASKET

0.508 MM (.020")

ARшт.

T72011

GASKET

0.254 MM (.010")

ARшт.

T72012

GASKET

0.127 MM (.005")

ARшт.

18

T60345

CAP

3шт.

19

19H1648

CAP SCREW

3/8" X 3/4"

6шт.

20

HOUSING

(SUB AT64252)

1шт.

21

T60360

RING

(NO LONGER AVAILABLE) (SUB AT64254)

1шт.

22

T59014

O-RING

1шт.

23

U13639

O-RING

1шт.

24

U46731

O-RING

1шт.

25

T60359

RING

(NO LONGER AVAILABLE) (SUB AT64254)

1шт.

26

AT64254

VALVE

1шт.

27

H63283

O-RING

2шт.

28

T67424

NUT

2шт.

29

T67425

NUT

2шт.

30

AT64252

CONTROL VALVE

1шт.

Выбрано товаров: 0