Запчасти John Deere 90 4 - REAR SWING MOTOR 4360 - SWING, ROTATION OR PIVOTING SYSTEM 43

Схема запчастей John Deere 90 - 4 - REAR SWING MOTOR 4360 - SWING, ROTATION OR PIVOTING SYSTEM 43
FIT
1:1
100%

Артикул

Название

Примечание

Количество

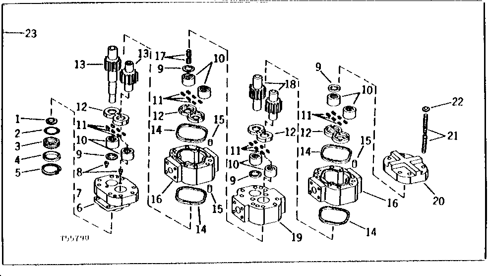
1

T42539

SEAL

1шт.

2

T42540

O-RING

1шт.

3

T42541

RETAINER

1шт.

4

T42538

SPACER

1шт.

5

N71921

SNAP RING

1шт.

6

END

( T42543 NO LONGER AVAILABLE)

1шт.

7

14H826

NUT

1/2"

8шт.

8

AT41495

CHECK VALVE

2шт.

9

T42534

WEAR RING

4шт.

10

R39630

CYLINDRICAL ROLLER BEARING

(SUB FOR T62148)

8шт.

11

T42531

ISOLATOR

24шт.

12

T42532

PLATE

4шт.

13

PINION SHAFT

( AT59563, USE IF AVAILABLE)

1шт.

14

T42530

WASHER

4шт.

15

T42525

DOWEL PIN

8шт.

16

HOUSING

( T62147 USE IF AVAILABLE)

2шт.

17

T42529

SHAFT

1шт.

18

GEAR

( AT59562 USE IF AVAILABLE)

1шт.

19

HOUSING

( T42536 NO LONGER AVAILABLE)

1шт.

20

T42537

END PLATE

1шт.

21

T62146

ROD

8шт.

22

R70268

WASHER

(SUB FOR (8) R42363) (SUB FOR T42528, THIS APPLICATION)

8шт.

23

AT52766

HYDRAULIC MOTOR

1шт.

Выбрано товаров: 23