Качественные детали и логистика
Оригинальные и аналоговые запчасти с доставкой по России, Казахстану и Беларуси
©2022 PartSell ООО "Система" ИНН 2463123282 ОГРН 1212400004838
Центральный офис: г. Красноярск, Академика Киренского, д.87, пом.4
Телефон: 8 (800) 777-65-74 Email: zakaz@partsell.ru
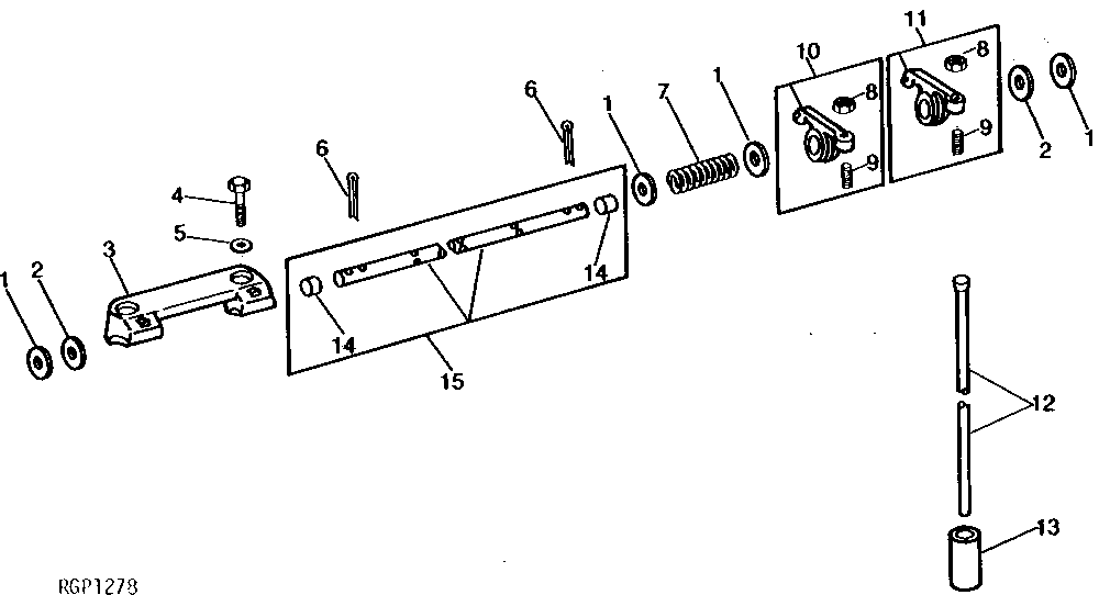
2 - ROCKER ARM SHAFT, PUSH RODS AND ROCKER ARMS
№
Артикул
Название
Примечание
Количество
1
R61266
WASHER
12шт.
2
R35022
2шт.
3
R57276
CLAMP
3шт.
4
R56957
BOLT
6шт.
5
T20168
6
11H229
COTTER PIN
3/32" X 2"
7
R35020
SPRING
5шт.
8
14H1080
NUT
3/8"
9
R27443
SET SCREW
10
AR69901
ARM
(A) (IE, 2I, 3E, 4I, 5E, 6I) (RH)
11
AR69902
(A) (1I, 2E, 3I, 4E, 5I, 6E) (LH)
12
AR53087
PUSH ROD
13
AR41291
CAM FOLLOWER
14
R35019
PLUG
15
AR92514
ROCKER ARM SHAFT
(SUB FOR AR74545)
1шт.
Выбрано товаров: 0