Запчасти John Deere 90A 2 - FUEL INJECTION NOZZLES AND FUEL LINES 413 - ENGINE 4

Схема запчастей John Deere 90A - 2 - FUEL INJECTION NOZZLES AND FUEL LINES 413 - ENGINE 4
FIT
1:1
100%

Артикул

Название

Примечание

Количество

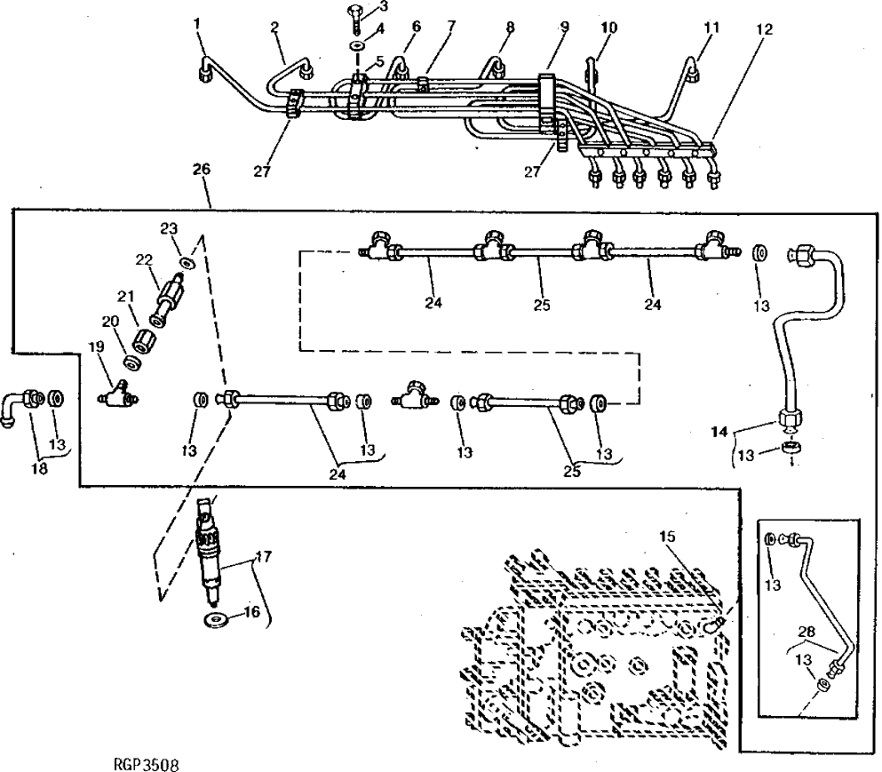
1

RE47721

FUEL LINE

NO. 6, (SUB FOR AR87442, RE11207 OR RE13606)

1шт.

2

RE47720

FUEL LINE

NO. 5, (SUB FOR AR87441, RE11206 OR RE13605)

1шт.

3

19H1849

CAP SCREW

5/16" X 1-1/4"

2шт.

4

12H303

LOCK WASHER

5/16"

2шт.

5

R67197

STRAP

2шт.

R67195

STRAP

1шт.

R67196

CLAMP

2шт.

R67197

STRAP

1шт.

6

RE47719

FUEL LINE

NO. 4, (SUB FOR AR87440, RE11205 OR RE13604)

1шт.

7

R61144

STRAP

1шт.

R58186

CLAMP

2шт.

R59305

STRAP

1шт.

AR76704

SCREW

0.190" X 1"

1шт.

8

RE47718

FUEL LINE

NO. 3, (SUB FOR AR87439, RE11204 OR RE13603)

1шт.

9

R74660

ABSORBER

(INNER)

1шт.

R74661

ABSORBER

(OUTER)

1шт.

10

RE47717

FUEL LINE

NO. 2, (SUB FOR AR87438, RE11203 OR RE13602)

1шт.

11

RE47716

FUEL LINE

NO. 1, (SUB FOR AR87437, RE11202 OR RE13601)

1шт.

12

R58189

CLAMP

1шт.

R58188

CLAMP

1шт.

R59301

REINFORCEMENT

1шт.

AR76704

SCREW

0.190" X 1"

5шт.

13

R51936

SEALING WASHER

13шт.

14

RE42283

FUEL LINE

(SUB FOR RE11925)

1шт.

15

R67364

ELBOW FITTING

1шт.

16

R64840

WASHER

6шт.

17

INJECTION NOZZLE

(SUB AR103189, SE500097 OR SE501106)

6шт.

18

AR104650

FUEL LINE

(SUB FOR T29539)

1шт.

19

AR85618

CAP

(SUB R79604, R79605 AND R79606)

6шт.

R79606

TEE FITTING

6шт.

20

R79605

WASHER

(SUB FOR T29539)

6шт.

21

R79604

TUBE NUT

(SUB FOR T29640)

6шт.

22

R77850

FITTING

(A) (SUB R89175 AND R77551)

6шт.

R89175

FITTING

(A) (ALSO ORDER R77551)

6шт.

23

R59294

SEALING RING

(USE WITH R77850)

6шт.

R77551

O-RING

6шт.

24

RE11926

FUEL LINE

3шт.

25

RE11927

FUEL LINE

2шт.

26

RE11929

KIT

1шт.

27

R61145

STRAP

2шт.

R59297

HALF CLAMP

4шт.

R59298

STRAP

2шт.

AR76704

SCREW

0.190" X 1"

4шт.

28

RE11925

FUEL LINE

(SUB RE42283)

1шт.

Выбрано товаров: 44