Запчасти John Deere 90A 8 - STARTER SOLENOID SWITCH 422 - ENGINE 4

Схема запчастей John Deere 90A - 8 - STARTER SOLENOID SWITCH 422 - ENGINE 4
FIT
1:1
100%

Артикул

Название

Примечание

Количество

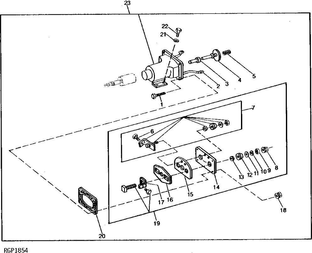
1

R75961

SCREW

4шт.

2

WIRING LEAD

(MAKE FROM PM797NA)

1шт.

3

R75960

BUSHING

1шт.

4

AR11079

DISK

1шт.

5

R11134

SPRING

1шт.

6

21H1335

SCREW

0.190" X 5/16"

4шт.

7

AR102765

KIT

1шт.

8

AR102764

NUT

2шт.

9

14H971

NUT

1/2"

2шт.

10

12H301

LOCK WASHER

1/2"

2шт.

11

R68625

WASHER

2шт.

12

R11131

INSULATOR

2шт.

13

R11130

WASHER

2шт.

14

R75962

PLATE

1шт.

15

R75958

INSULATOR

1шт.

16

R75957

INSULATOR

1шт.

17

R75959

SUPPORT

1шт.

18

AR102763

NUT

4шт.

19

AR102768

PLATE

1шт.

20

R75952

GASKET

1шт.

21

12H302

LOCK WASHER

1/4"

4шт.

22

19H2479

CAP SCREW

1/4" X 3/8"

4шт.

23

AR102766

SOLENOID

1шт.

Выбрано товаров: 23