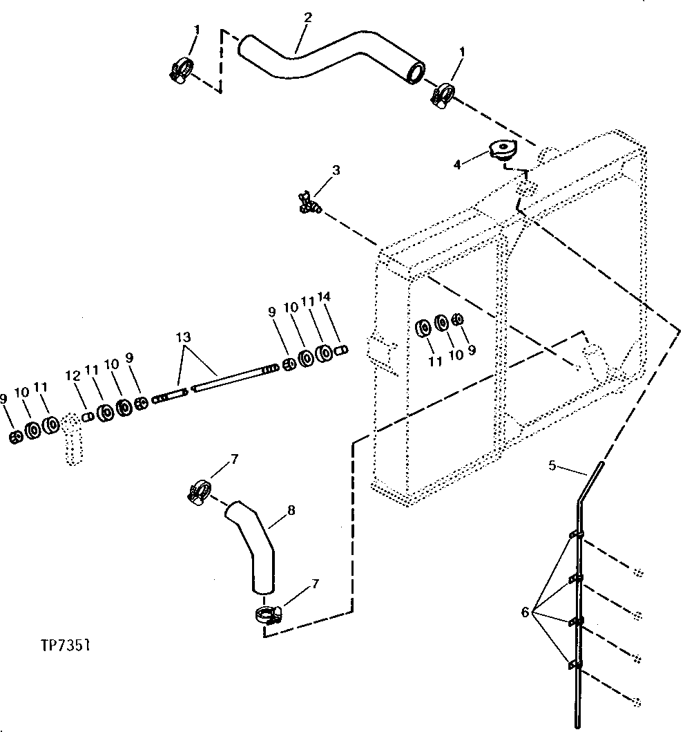
Запчасти John Deere 90A 4 - RADIATOR HOSES AND UPPER SUPPORTS 510 - ENGINE AUXILIARY SYSTEMS 5

Схема запчастей John Deere 90A - 4 - RADIATOR HOSES AND UPPER SUPPORTS 510 - ENGINE AUXILIARY SYSTEMS 5
FIT
1:1
100%

Артикул

Название

Примечание

Количество

1

TY22472

CLAMP

(SUB FOR AT145651 OR AR21999)

2шт.

2

T70932

HOSE

1шт.

3

AT13740

DRAIN VALVE

1шт.

4

AN110020

CAP

1шт.

5

HOSE

(CUT TO 55.12") (MAKE FROM TY22324) (SUB FOR T75679)

1шт.

6

T19935

CLAMP

(SUB FOR N10010)

4шт.

7

AR21841

CLAMP

2шт.

8

T70933

HOSE

1шт.

9

14H1040

NUT

1/2"

8шт.

10

24H1204

WASHER

9/16" X 1-15/32" X 0.075"

8шт.

11

U45315

WASHER

8шт.

12

T47250

SPACER

(SUB FOR M43318, THIS APPLICATION)

4шт.

T47250

SPACER

2шт.

13

T57821

STUD

2шт.

14

B33873

BUSHING

(SUB FOR N7168DN)

2шт.

Выбрано товаров: 15