Запчасти John Deere 90A 3 - COUNTERWEIGHT 1749 - FRAME, CHASSIS OR SUPPORTING STRUCTURE 17

Схема запчастей John Deere 90A - 3 - COUNTERWEIGHT 1749 - FRAME, CHASSIS OR SUPPORTING STRUCTURE 17
FIT
1:1
100%

Артикул

Название

Примечание

Количество

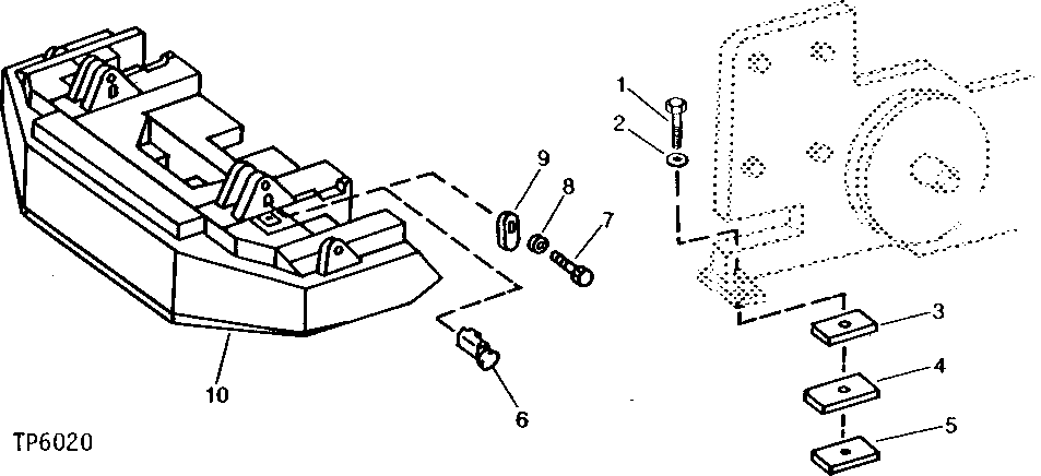
1

19H3065

CAP SCREW

3/8" X 2"

2шт.

2

24H1219

WASHER

7/16" X 1" X 0.083"

ARшт.

3

T60937

STRAP

2шт.

4

T60938

SHIM

ARшт.

5

T60936

STRAP

2шт.

6

T50798

PIN FASTENER

2шт.

7

19H2993

CAP SCREW

1/2" X 1-1/2"

2шт.

8

24H1211

WASHER

9/16" X 1-3/8" X 0.105"

2шт.

9

T61276

STRAP

2шт.

10

BUMPER

( AT71891 NO LONGER AVAILABLE)

1шт.

Выбрано товаров: 10