Запчасти John Deere 90A 3 - RIGHT REAR FENDER 1927 - SHEET METAL AND STYLING 19

Схема запчастей John Deere 90A - 3 - RIGHT REAR FENDER 1927 - SHEET METAL AND STYLING 19
FIT
1:1
100%

Артикул

Название

Примечание

Количество

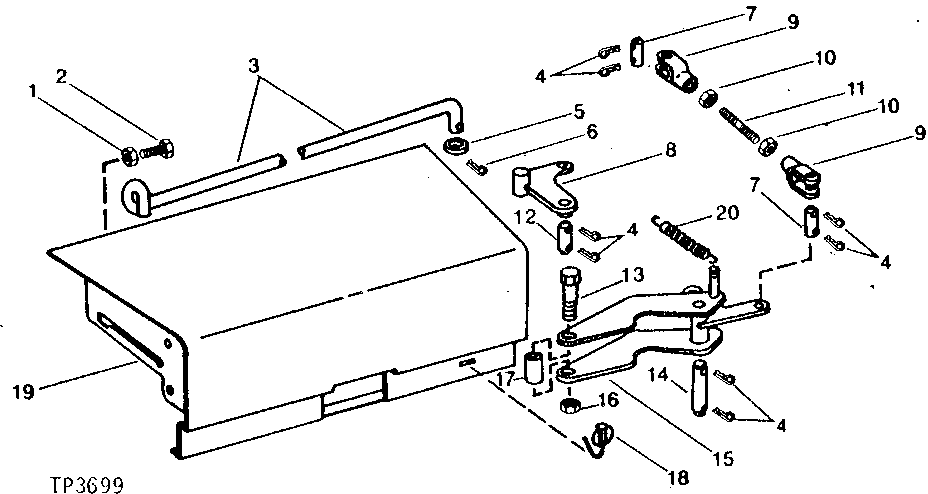
1

R78019

WASHER

(SUB FOR T21397)

3шт.

2

19H2716

CAP SCREW

3/4" X 1-1/2"

3шт.

3

T47118

ROD

1шт.

4

11M7015

COTTER PIN

3.200 X 25 MM

8шт.

5

24H1362

WASHER

41/64" X 1" X 0.075", (SUB FOR U46510)

1шт.

6

11M7030

COTTER PIN

5 X 40 MM

1шт.

7

U46245

PIN FASTENER

2шт.

8

AT61017

LATCH

1шт.

9

T47112

YOKE

2шт.

10

14H826

NUT

1/2"

2шт.

11

T59443

STUD

1шт.

12

H148899

PIN

(SUB FOR T47111)

1шт.

13

19H2224

CAP SCREW

1/2" X 4-3/4"

1шт.

14

H148902

PIN

(SUB FOR T47108)

1шт.

15

AT62046

HANDLE

1шт.

16

K40014

LOCK NUT

(SUB FOR T27645)

1шт.

17

T47106

BUSHING

1шт.

18

AT51505

QUICK LOCK PIN

1шт.

19

AT69075

FENDER

1шт.

20

R42783

EXTENSION SPRING

1шт.

Выбрано товаров: 20