Запчасти John Deere 90A 6 - LEFT REAR FENDER 1927 - SHEET METAL AND STYLING 19

Схема запчастей John Deere 90A - 6 - LEFT REAR FENDER 1927 - SHEET METAL AND STYLING 19
FIT
1:1
100%

Артикул

Название

Примечание

Количество

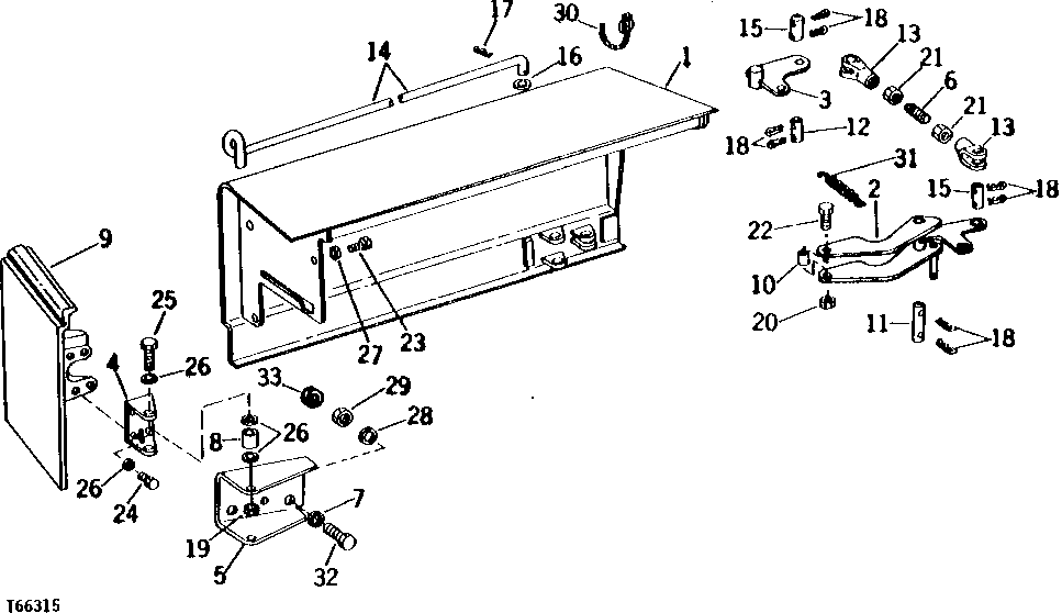
1

AT45818

FENDER

1шт.

2

AT62045

HANDLE

1шт.

3

AT61017

LATCH

1шт.

4

AT49161

HINGE

1шт.

5

AT49163

BRACKET

1шт.

6

T59443

STUD

1шт.

7

T35418

BUSHING

4шт.

8

T47095

BUSHING

2шт.

9

T47104

CAP

1шт.

10

T47106

BUSHING

1шт.

11

H148902

PIN

(SUB FOR T47108)

1шт.

12

H148899

PIN

(SUB FOR T47111)

1шт.

13

T47112

YOKE

2шт.

14

T47114

ROD

1шт.

15

U46245

PIN FASTENER

2шт.

16

24H1362

WASHER

41/64" X 1" X 0.075", (SUB FOR U46510)

1шт.

17

11M7030

COTTER PIN

5 X 40 MM

1шт.

18

11M7015

COTTER PIN

3.200 X 25 MM

8шт.

19

14H1048

NUT

1"

2шт.

20

K40014

LOCK NUT

(SUB FOR T27645)

1шт.

21

14H826

NUT

1/2"

2шт.

22

19H2224

CAP SCREW

1/2" X 4-3/4"

1шт.

23

19H2716

CAP SCREW

3/4" X 1-1/2"

3шт.

24

19H1375

CAP SCREW

1" X 2"

4шт.

25

19H3417

CAP SCREW

1" X 3"

2шт.

26

24H1452

WASHER

1-1/32" X 1-3/4" X 0.105"

4шт.

27

R78019

WASHER

(SUB FOR T21397)

3шт.

28

24H1460

WASHER

1-1/32" X 2-5/8" X 1/4"

ARшт.

29

T58089

WASHER

ARшт.

30

AT51505

QUICK LOCK PIN

1шт.

31

R42783

EXTENSION SPRING

1шт.

32

19H3099

CAP SCREW

1" X 3-3/4"

4шт.

33

14H1048

NUT

1"

4шт.

Выбрано товаров: 33