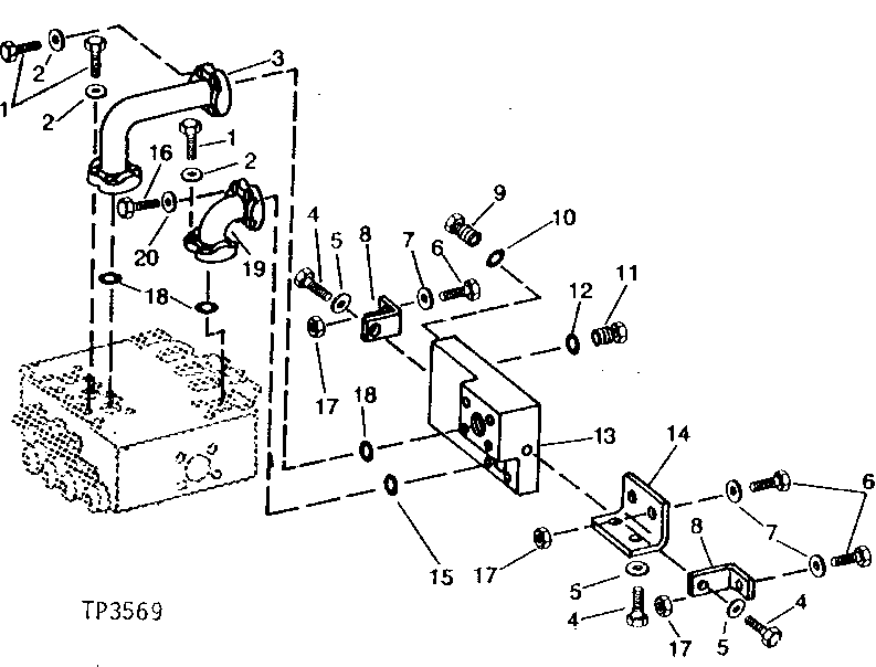
Запчасти John Deere 90A 53 - DIG VALVE TO JUNCTION BLOCK HYDRAULICS 3360 - EXCAVATOR 33

Схема запчастей John Deere 90A - 53 - DIG VALVE TO JUNCTION BLOCK HYDRAULICS 3360 - EXCAVATOR 33
FIT
1:1
100%

Артикул

Название

Примечание

Количество

1

19H2993

CAP SCREW

1/2" X 1-1/2"

12шт.

2

12H301

LOCK WASHER

1/2"

12шт.

3

AT68878

OIL TUBE

1шт.

4

19H3385

CAP SCREW

1/2" X 1-1/8"

4шт.

5

24H1111

WASHER

17/32" X 1-1/16" X 0.090"

4шт.

6

19H3244

CAP SCREW

5/8" X 2-1/4"

4шт.

7

24M7241

WASHER

17 X 34 X 4 MM, (SUB FOR T19584 AND T40728)

8шт.

8

T66615

ANGLE

2шт.

9

R36636

FITTING PLUG

2шт.

10

R29936

O-RING

2шт.

11

R27218

FITTING PLUG

2шт.

12

T70177

O-RING

2шт.

13

T48060

JUNCTION BLOCK

1шт.

14

T48061

BRACKET

1шт.

15

T72216

O-RING

1шт.

16

19H3205

CAP SCREW

7/16" X 1-1/2"

4шт.

17

14H1039

NUT

5/8"

4шт.

18

T72221

O-RING

3шт.

19

AT68877

OIL TUBE

1шт.

20

12H293

LOCK WASHER

7/16"

4шт.

Выбрано товаров: 20