Запчасти John Deere 90A 61 - CROWD CYLINDER 3360 - EXCAVATOR 33

Схема запчастей John Deere 90A - 61 - CROWD CYLINDER 3360 - EXCAVATOR 33
FIT
1:1
100%

Артикул

Название

Примечание

Количество

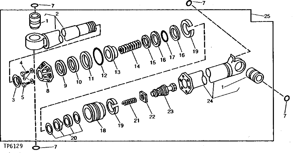
1

T46610

BUSHING

2шт.

2

AR90893

ROD

1шт.

3

T46617

SEAL

1шт.

4

19H3313

CAP SCREW

(RK) 1" X 4-1/2"

4шт.

5

19H3314

SCREW

1" X 5-1/4"

2шт.

6

T30636

WASHER

1-1/32" X 1-3/4" X 1/4"

6шт.

7

T46611

SEAL

4шт.

8

R76934

HYDR. CYLINDER ROD GUIDE

1шт.

9

T46618

WEAR RING

(RK)

1шт.

10

R76773

SEAL

(RK)

1шт.

11

R78810

BACK-UP RING

(BK) (SUB FOR R76901)

1шт.

12

R76900

O-RING

(BK)

1шт.

13

T46625

POPPET

1шт.

14

T57339

SPRING

1шт.

15

T46629

WEAR RING

1шт.

16

R78808

BACK-UP RING

(RK) (SUB FOR T59925)

1шт.

17

T59924

RING

1шт.

18

R76942

PISTON

1шт.

19

R76907

WEAR RING

(BK)

2шт.

20

RE10023

SEAL

(BK) PISTON ASSEMBLY

1шт.

21

T57338

SPRING

1шт.

22

T57335

STRAP

1шт.

23

AT45325

POPPET

1шт.

24

AR105688

HYDRAULIC CYLINDER BARREL

1шт.

25

AR105687

HYDRAULIC CYLINDER

(SUB RE21214)

1шт.

Выбрано товаров: 25