Запчасти John Deere 90A 62 - REPLACEMENT CROWD CYLINDER 3360 - EXCAVATOR 33

Схема запчастей John Deere 90A - 62 - REPLACEMENT CROWD CYLINDER 3360 - EXCAVATOR 33
FIT
1:1
100%

Артикул

Название

Примечание

Количество

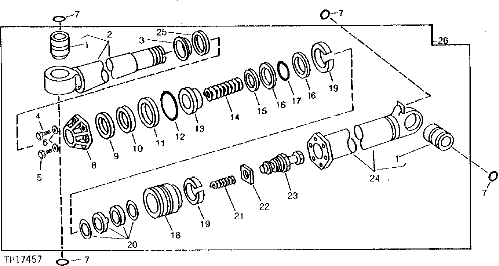
1

T46610

BUSHING

2шт.

2

AR90893

ROD

1шт.

3

RE21199

SEAL

(RK)

1шт.

4

19H3313

CAP SCREW

1" X 4-1/2"

4шт.

5

19H3314

SCREW

1" X 5-1/4"

2шт.

6

T30636

WASHER

1-1/32" X 1-3/4" X 1/4"

6шт.

7

T46611

SEAL

4шт.

8

R82289

HYDR. CYLINDER ROD GUIDE

1шт.

9

R83322

WEAR RING

(RK) (SUB FOR R82283)

1шт.

10

RE21200

SEAL

(RK)

1шт.

11

R78810

BACK-UP RING

(BK)

1шт.

12

R76900

O-RING

(BK)

1шт.

13

T46625

POPPET

1шт.

14

T57339

SPRING

1шт.

15

T46629

WEAR RING

1шт.

16

R78808

BACK-UP RING

(RK) (SUB FOR T59925)

1шт.

17

T59924

RING

(RK)

2шт.

18

R76942

PISTON

1шт.

19

R76907

WEAR RING

(BK)

2шт.

20

RE10023

SEAL

(BK) PISTON ASSEMBLY

1шт.

21

T57338

SPRING

1шт.

22

T57335

STRAP

1шт.

23

AT45325

POPPET

1шт.

24

AR105688

HYDRAULIC CYLINDER BARREL

1шт.

25

RE21198

SEAL

(RK)

1шт.

26

RE21214

HYDRAULIC CYLINDER

1шт.

Выбрано товаров: 0