Запчасти John Deere 90A 1 - HOUSE LOCK 4311 - SWING, ROTATION OR PIVOTING SYSTEM 43

Схема запчастей John Deere 90A - 1 - HOUSE LOCK 4311 - SWING, ROTATION OR PIVOTING SYSTEM 43
FIT
1:1
100%

Артикул

Название

Примечание

Количество

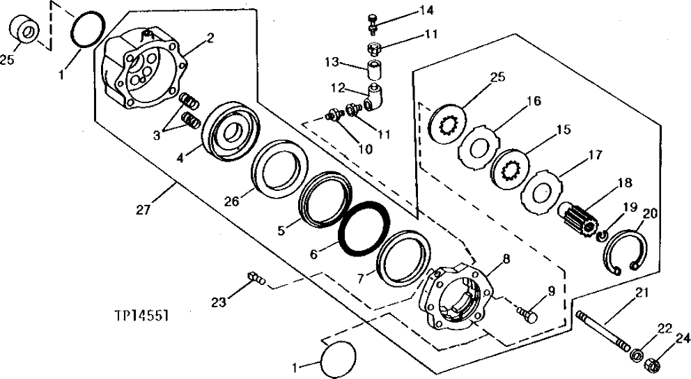
1

R55453

O-RING

(SUB FOR T70178)

2шт.

2

AT60809

HOUSING

(MARKED T63825)

1шт.

3

T40977

SPRING

10шт.

4

T40975

PISTON

1шт.

5

AT67011

SEAL

(SUB AT112460)

1шт.

AT112460

SEAL

(SUB FOR AT79896 AND AT81800)

1шт.

6

T70176

O-RING

1шт.

7

U44590

BACK-UP RING

1шт.

8

T75463

FLANGE

1шт.

9

19H3239

CAP SCREW

3/8" X 1-1/4"

2шт.

10

T28053

THREADED NIPPLE

1шт.

11

15H514

PIPE BUSHING

(1/2" X 1/8")

2шт.

12

15H602

ELBOW FITTING

(SUB FOR 15H200) (1/2")

1шт.

13

T59036

COUPLING

1шт.

14

U14273

BREATHER

1шт.

15

T114856

BRAKE DISK

(SUB FOR T46153)

7шт.

16

T59495

BRAKE DISK

7шт.

17

T59496

BRAKE DISK

1шт.

18

T40976

SHAFT

1шт.

19

T14445

SNAP RING

1шт.

20

T40980

SNAP RING

1шт.

21

T67716

STUD

4шт.

22

N31767

WASHER

4шт.

23

15H638

PIPE PLUG

1/8"

1шт.

23A

15H638

PIPE PLUG

1/8"

1шт.

24

14H1040

NUT

1/2"

4шт.

25

AT40603

SEAL

1шт.

26

T107595

BACK-UP RING

(USE WITH AT81864) (SUB FOR T80940)

1шт.

27

BRAKE

( AT75571 NO LONGER AVAILABLE) (SUB AT81864 IF AVAILABLE)

1шт.

29

19H2922

SCREW

3/8" X 1-1/4"

2шт.

30

AT40603

SEAL

1шт.

31

T107595

BACK-UP RING

(USE WITH AT81864) (SUB FOR T80940)

1шт.

32

BRAKE

( AT75571 NO LONGER AVAILABLE) (SUB AT81864 IF AVAILABLE)

1шт.

Выбрано товаров: 33