Запчасти John Deere 90A 2 - PROPEL BRAKE 260 - UNDERCARRIAGE 2

Схема запчастей John Deere 90A - 2 - PROPEL BRAKE 260 - UNDERCARRIAGE 2
FIT
1:1
100%

Артикул

Название

Примечание

Количество

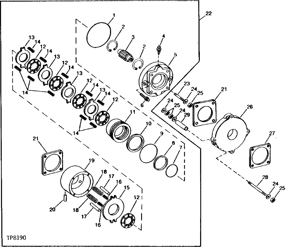
1

T70905

WASHER

1шт.

2

T70922

SNAP RING

2шт.

3

T72163

SHAFT

1шт.

4

T70911

SCREW

1шт.

5

T81496

PLATE

(SUB FOR T75057)

1шт.

6

19H3493

SCREW

1/2" X 2-1/4", (SUB FOR T70906)

2шт.

7

R76030

O-RING

(SUB FOR T70907)

1шт.

8

T70908

WASHER

1шт.

9

T38485

O-RING

1шт.

10

T70910

WASHER

1шт.

11

T70909

PISTON

1шт.

12

T70915

DISK

5шт.

13

T70914

DISK

STATIONARY

4шт.

14

T70913

SPRING

10шт.

15

T70916

DISK

PRIMARY

1шт.

16

T70920

COMPRESSION SPRING

12шт.

17

T70917

PIN FASTENER

2шт.

18

T70921

SPRING

12шт.

19

HOUSING

( T75058 USE IF AVAILABLE)

1шт.

20

T67479

CAP

1шт.

21

T70919

GASKET

2шт.

22

AT72618

BRAKE

1шт.

23

T72092

STUD

4шт.

24

N31767

WASHER

11шт.

25

14H1040

NUT

1/2"

11шт.

26

T72165

ADAPTER FITTING

1шт.

27

T72611

GASKET

1шт.

28

T72164

STUD

3шт.

29

28H2712

BUSHING

0.742" X 1.050" X 3-15/16"

1шт.

Выбрано товаров: 29