Запчасти John Deere 90A 8 - PROPEL MOTOR COVER AND CAP 260 - UNDERCARRIAGE 2

Схема запчастей John Deere 90A - 8 - PROPEL MOTOR COVER AND CAP 260 - UNDERCARRIAGE 2
FIT
1:1
100%

Артикул

Название

Примечание

Количество

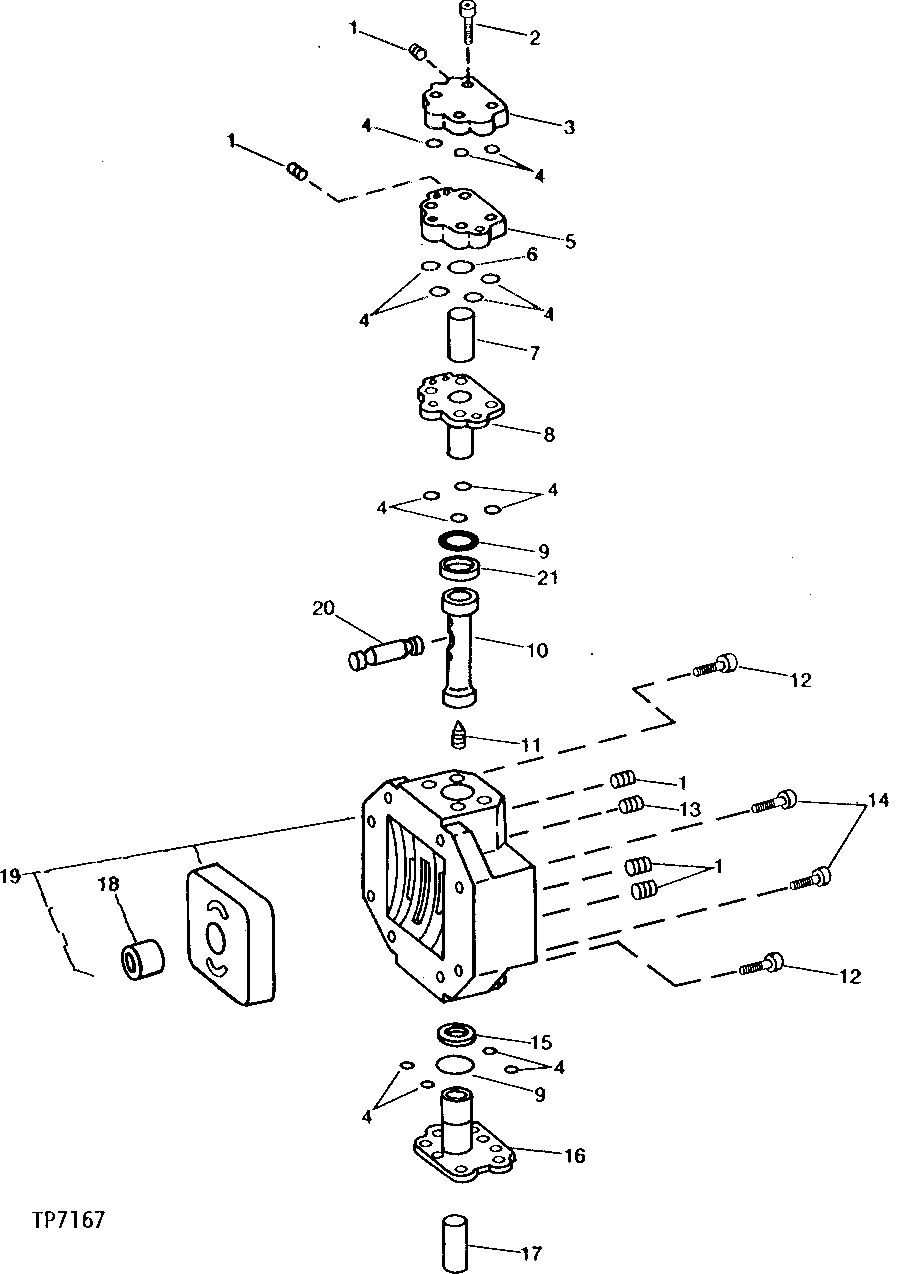
1

15M7032

PIPE PLUG

M8 X 1

5шт.

2

19M8131

SCREW

M10 X 70

4шт.

3

T74526

COVER

1шт.

4

T74550

O-RING

(K)

3шт.

5

T74525

CAP

1шт.

6

T74549

O-RING

(K)

1шт.

7

T74523

PIN

1шт.

8

T74524

SLEEVE FITTING

1шт.

9

T74548

O-RING

(K)

2шт.

10

T74527

PISTON

1шт.

11

22M7067

SET SCREW

M8 X 10

1шт.

12

19M8132

SCREW

M16 X 70

4шт.

13

15M7033

PIPE PLUG

M10 X 1

1шт.

14

19M8133

SCREW

M16 X 110

4шт.

15

T76147

PLATE

M16 X 110

1шт.

16

T74507

SLEEVE FITTING

1шт.

17

T74506

PIN

1шт.

18

T74533

BUSHING

1шт.

19

AT72230

COVER

1шт.

20

T74528

PIN

1шт.

21

T76148

PLATE

1шт.

Выбрано товаров: 21