Запчасти John Deere 92DLC 78 - Starting Motor (24V 37MT) (Nippondenso) (354707 - ) 0422 Starting Motor And Fastenings 6466AT014 6466AT014

Схема запчастей John Deere 92DLC - 78 - Starting Motor (24V 37MT) (Nippondenso) (354707 - ) 0422 Starting Motor And Fastenings 6466AT014 6466AT014
FIT
1:1
100%

Артикул

Название

Примечание

Количество

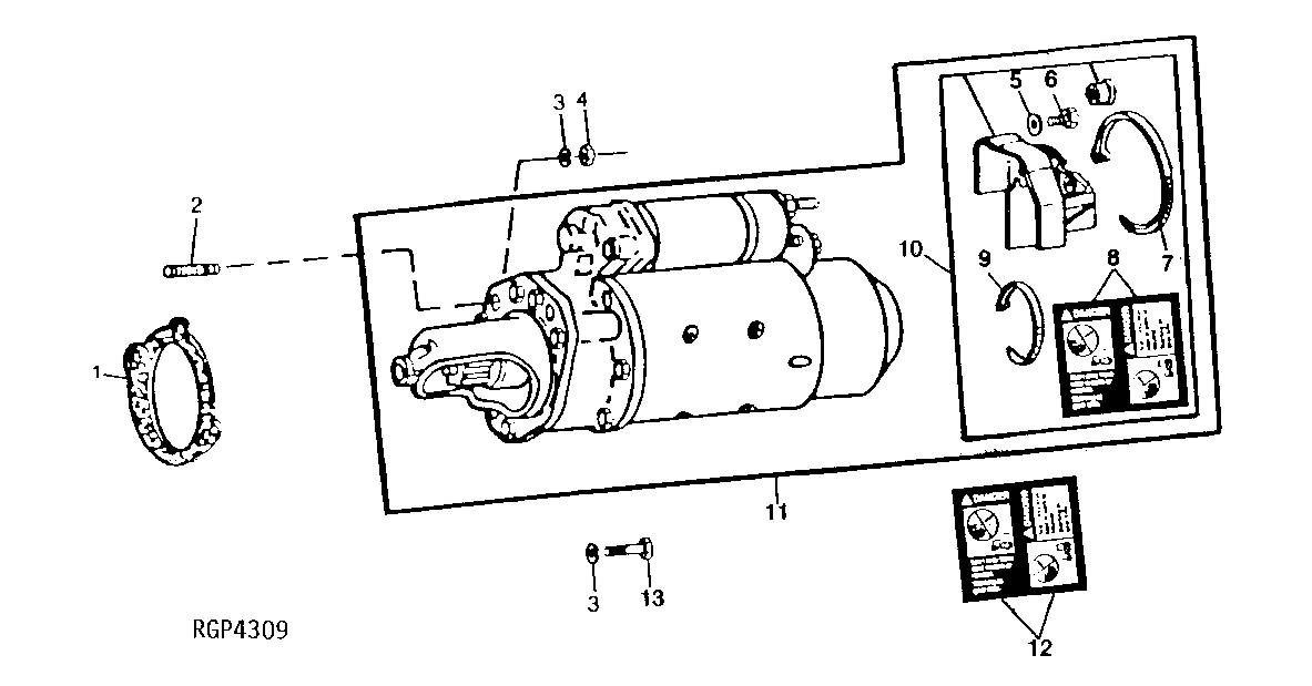
1

R53108

Gasket

1шт.

2

R114130

Stud

(SUB FOR R55396, APPL)

1шт.

3

12H304

Lock Washer

3/8" (NOT REQUIRED WITH E55662)

3шт.

4

E55662

Flange Nut

1шт.

5

R104676

Shim

(SUB RE45329)

1шт.

6

R104646

Screw

(SUB RE45329)

1шт.

7

H113196

Tie Band

(SUB FOR R76477 OR R45440)

1шт.

8

T146102

Label

(ENGLISH), (SUB FOR T134459)

1шт.

9

R44302

Tie Band

1шт.

10

Cover

( RE41758 NO LONGER AVAILABLE)

1шт.

RE45329

Cover

1шт.

11

RE44511

Starter Motor

(DENSO NO. 128000-7170), (SUB FOR RE15663 OR RE38369 ) (SUB TY25969)

1шт.

RE45328

Starter Motor

(DENSO NO. 128000-7172) (MA RKED RE44151 ) (SUB TY25969)

1шт.

RE57078

Starter Motor

(DENSO NO. 228000-2390) (MA RKED RE55641 ) (SUB TY25969)

1шт.

RE65174

Starter Motor

(DENSO NO. 228000-4611) (MARKED RE595 85 ) (CONTAINS RE45329 ) (SUB TY25969)

1шт.

TY25969

Starter Motor

REMANUFACTURED (DENSO 9722 800-4611) (SUB FOR TY24303)

1шт.

SE501423

Starter Motor

(REMANUFACTURED FOR TY25969)

1шт.

12

T146106

Safety Sign

(SPANISH), (SUB FOR T84410 OR T134452)

1шт.

T146104

Safety Sign

(FRENCH), (SUB FOR T84411 OR T134453)

1шт.

T146515

Safety Sign

(GERMAN), (SUB FOR T84412 OR T134454)

1шт.

T146516

Safety Sign

(ITALIAN), (SUB FOR T84413 OR T134455)

1шт.

T146517

Safety Sign

(ENGLISH-FRENCH), (SUB FOR T84578 OR T134456)

1шт.

13

19H3219

Cap Screw

3/8" X 1-3/8"

2шт.

TY22471

Clamp

(USE WITH RE55641 ) (SUB FOR RE43166)

1шт.

Выбрано товаров: 24