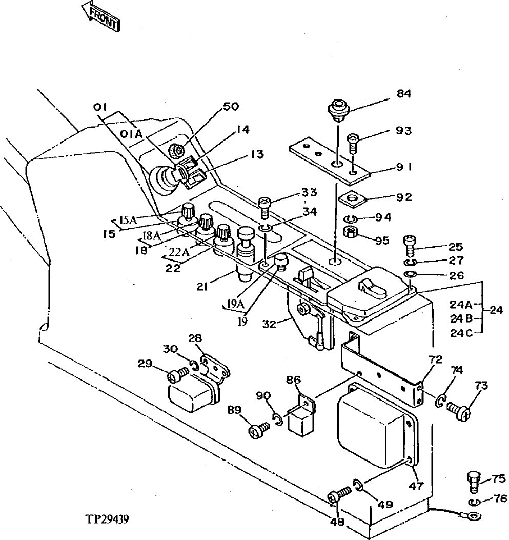
Запчасти John Deere 92DLC 107 - ELECTRIC PARTS 1674 Wiring Harness And Switches

Схема запчастей John Deere 92DLC - 107 - ELECTRIC PARTS 1674 Wiring Harness And Switches
FIT
1:1
100%

Артикул

Название

Примечание

Количество

1

4237505

Switch

SUB FOR TH108551 OR 4186744, IGNITION

1шт.

1A

AT194969

Key

SUB FOR TH108552 AND AT147803

1шт.

13

4187088

Switch

SUB FOR TH108553, TRAVEL SPEED

1шт.

14

4187089

Switch

(SUB FOR TH108554, AUTOMATIC FUEL CONTROL

1шт.

15

4201802

Switch

SUB FOR TH108555, CHANGE OF MODE

1шт.

15A

4268742

Knob

SUB FOR AT130798

1шт.

18

4184396

Switch

SUB FOR TH108556, LIGHT

1шт.

18A

4268740

Knob

SUB FOR AT130799

1шт.

19

4184397

Switch

SUB FOR TH108557, FAN BLOWER

1шт.

19A

4268750

Knob

SUB FOR AT130800

1шт.

21

AR60937

Electrical Lighter

SUB FOR TH108558, ALSO ORDER AT78 633, AT78634 AND AU42809, 12 VOLT

1шт.

AT78633

Housing

12 VOLT

1шт.

AT78634

Wiring Lead

12 VOLT

1шт.

AU42809

Resistor

12 VOLT

1шт.

Electrical Lighter

SUB FOR AT190190, 24 VOLT, 4357862 NO LONGER AVAILABLE

1шт.

22

4184398

Switch

SUB FOR TH108559, WIPER

1шт.

22A

4268741

Knob

SUB FOR AT130801

1шт.

24

4205437

Fuse Box

SUB FOR TH108560

1шт.

24A

AT58169

Fuse

CLOCK

3шт.

24B

AT28077

Fuse

DOME LIGHT, WINDSHIELD WIPE R, HORN, MONITOR, CONTROLLER

9шт.

24C

AT39227

Fuse

WORK LIGHT, HEATER, LIGHTER, STARTING AID

5шт.

25

21M7277

Screw

M6 X 25

2шт.

26

24M7054

Washer

6.400 X 12 X 1.600 mm

2шт.

27

12M7006

Lock Washer

6 mm SUB FOR TH103470

2шт.

28

T116141

Relay

SUB FOR 4505392 AND TH100585, HORN

1шт.

29

21M7288

Screw

M6 X 10 SUB FOR TH100547

2шт.

30

12M7006

Lock Washer

6 mm

2шт.

32

4456566

Control

HEATER SUB FOR 4189169, ALSO ORDER 4248908

1шт.

4248908

Cable

SUB FOR AT194604

1шт.

33

21M7396

Screw

M4 X 10

4шт.

34

12H315

Lock Washer

0.164" SUB FOR 12M7063

4шт.

47

9067007

Control

SUB FOR TH108566, ENGINE S PEED AND PUMP DISPLACEMENT

1шт.

48

21M7288

Screw

M6 X 10 SUB FOR TH100547

4шт.

49

12M7006

Lock Washer

6 mm

4шт.

50

4146754

Bumper

SUB FOR TH100572

1шт.

72

4200514

Bracket

SUB FOR TH108574

1шт.

73

21M7246

Screw

M6 X 16

4шт.

74

12M7006

Lock Washer

6 mm

4шт.

75

19M8324

Cap Screw

M10 X 16

1шт.

76

12M7066

Lock Washer

10 mm

1шт.

84

4155755

Switch

SUB FOR TH101582, ETHER AID

1шт.

86

4205029

Relay

SUB FOR TH108573, LOAD DUMP

1шт.

89

21M7288

Screw

M6 X 10 SUB FOR TH111061

1шт.

90

12M7006

Lock Washer

6 mm

1шт.

91

4200522

Plate

SUB FOR TH108564

1шт.

92

4200521

Plate

SUB FOR TH108565

2шт.

93

21M7455

Screw

M6 X 20 SUB FOR 21M7085

2шт.

94

12M7006

Lock Washer

6 mm

2шт.

95

14M7272

Nut

M6

2шт.

Выбрано товаров: 49