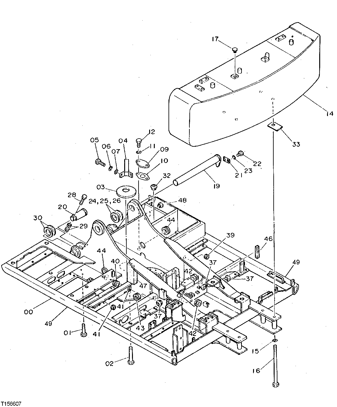
Запчасти John Deere 92DLC 120 - Main Frame 1740 Frame Installation

Схема запчастей John Deere 92DLC - 120 - Main Frame 1740 Frame Installation
FIT
1:1
100%

Артикул

Название

Примечание

Количество

0

Main Frame

( TH111427 CONVENIENCE ASS EMBLY NO LONGER AVAILABLE)

1шт.

1

19M7903

Cap Screw

M24 X 120

30шт.

2

19M8419

Cap Screw

M24 X 170

2шт.

3

4176863

Cover

(SUB FOR T107046)(ROTARY MANIFOLD)

1шт.

4

8033211

Stop

(SUB FOR AT107243)

1шт.

5

19M6332

Cap Screw

M14 X 35

2шт.

6

12H317

Lock Washer

9/16"

2шт.

7

4114404

Washer

15 X 36 X 4.500 mm (SUB FOR TH108203 ) (SUB FOR AT130666)

2шт.

9

4013896

Cover

(SUB FOR TH100633)

1шт.

10

4157713

Gasket

(SUB FOR TH100632)

1шт.

11

24M7028

Washer

10.500 X 20 X 2 mm

2шт.

12

19M7938

Cap Screw

M10 X 20

2шт.

14

Counterweight

( TH111429 CONVENIENCE ASS EMBLY NO LONGER AVAILABLE)

1шт.

15

4174859P

Washer

(SUB FOR TH103498 OR 4174859)

4шт.

16

4228704

Bolt

M30 X 350 (SUB FOR TH111859)

4шт.

17

4168132

Cap

(SUB FOR TH102874)

2шт.

19

8037457

Pin Fastener

(SUB FOR TH111484)

1шт.

20

3075747R

Pin Fastener

(SUB FOR TH103201 OR 3075747)

2шт.

21

4143695

Plate

(SUB FOR TH102413)

1шт.

22

19M7950

Cap Screw

M20 X 45

2шт.

23

12M7070

Lock Washer

20 mm

2шт.

24

4143605

Washer

(SUB FOR TH103206)(3.2)

1шт.

25

4143606

Washer

(SUB FOR TH103207)(2.3)

1шт.

26

4143607

Washer

(SUB FOR TH103208)(1.2)

2шт.

28

19M8100

Cap Screw

M20 X 180 (SUB FOR TH103500)

2шт.

29

14M7277

Nut

M20

4шт.

30

4144513

Washer

(SUB FOR TH102423)

4шт.

32

4163949

Grommet

(SUB FOR TH111209)

1шт.

33

4169062

Strap

(SUB FOR TH111211)(1.0)

1шт.

37

4196825

Grommet

(SUB FOR TH110544)

4шт.

39

94-2805

Grommet

(SUB FOR TH110221)

2шт.

40

4201995

Grommet

(SUB FOR TH109396)

1шт.

41

4210661

Grommet

(SUB FOR TH111369)

2шт.

42

4200176

Grommet

(SUB FOR TH109397)

2шт.

43

4201986

Grommet

(SUB FOR TH109398)

1шт.

44

4196826

Grommet

(SUB FOR TH111284)

2шт.

46

4205945

Isolator

(SUB FOR TH111309)

1шт.

47

4204964

Isolator

(SUB FOR TH111307)

1шт.

48

4198176

Bumper

(SUB FOR TH111291)

3шт.

49

4455819

Line

1шт.

Выбрано товаров: 40