Запчасти John Deere 92DLC 3 - Track Adjuster 0130 TRACKS SYSTEMS

Схема запчастей John Deere 92DLC - 3 - Track Adjuster 0130 TRACKS SYSTEMS
FIT
1:1
100%

Артикул

Название

Примечание

Количество

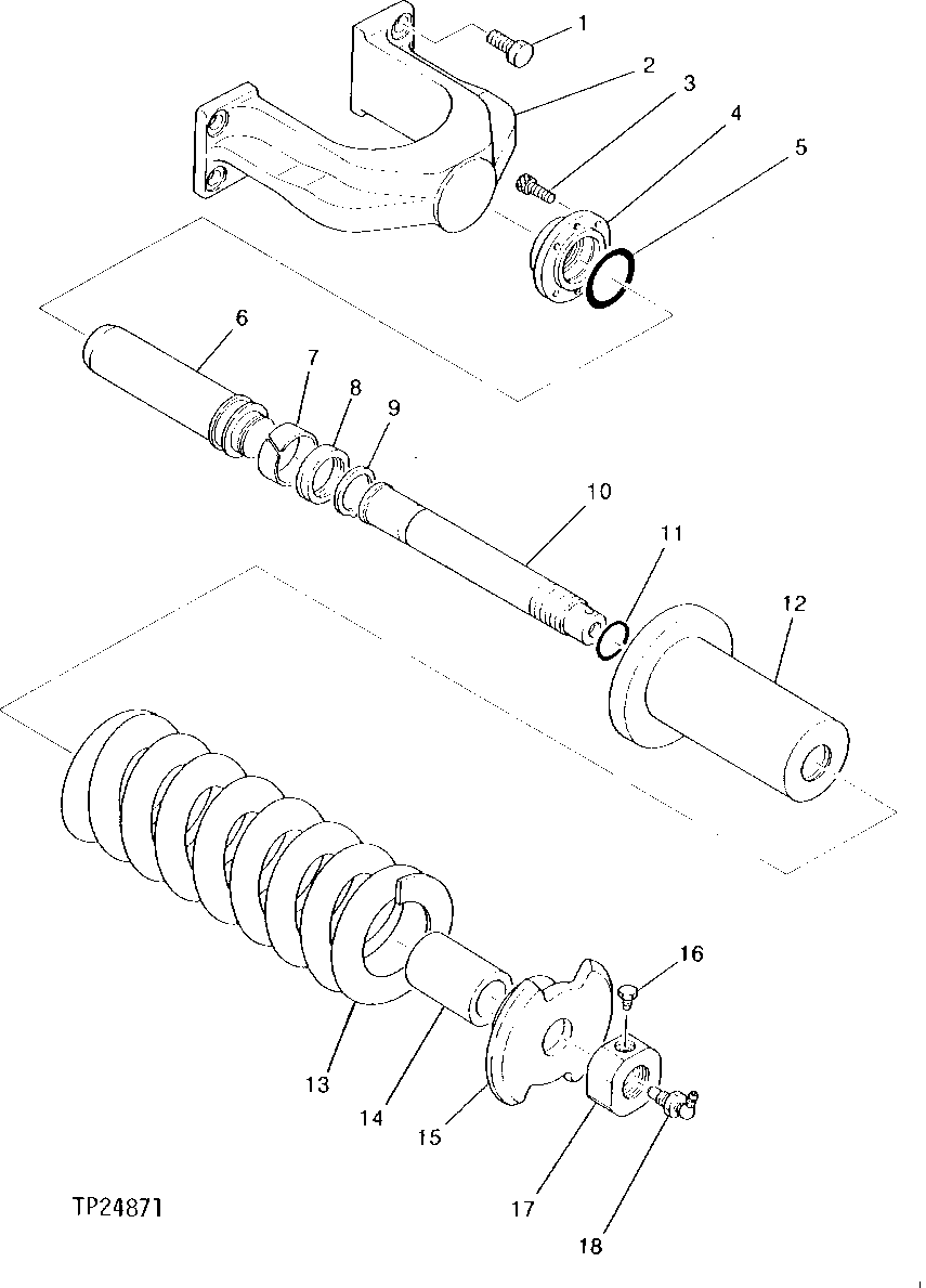
1

19M7488

Cap Screw

M16 X 40

4шт.

2

1010587

Yoke

(SUB FOR TH111097)

1шт.

3

M341022

Screw

(SUB FOR TH105695)

4шт.

4

3036518

Flange

(SUB FOR TH111161)

1шт.

5

CH17160

Packing

1шт.

6

3036517

Rod

(SUB FOR TH111160)

1шт.

7

TH111224

Wear Ring

1шт.

8

4137866

Packing

(SUB FOR TH103137)

1шт.

9

40M7065

Snap Ring

1шт.

10

3036515

Rod

(SUB FOR TH111158)

1шт.

11

CH15107

Packing

1шт.

12

3036514

Hydraulic Cylinder

(SUB FOR TH111157)

1шт.

13

3036410

Spring

(SUB FOR TH111134)

1шт.

14

4194194

Spacer

(SUB FOR TH111265)

1шт.

15

3036516

Bushing

(SUB FOR TH111159)

1шт.

16

TH108868

Bolt

M10 X 16

1шт.

17

4085649

Nut

(SUB FOR TH103135)

1шт.

18

4255055

Valve

(SUB FOR TH108874 OR AT154223)

1шт.

Выбрано товаров: 18