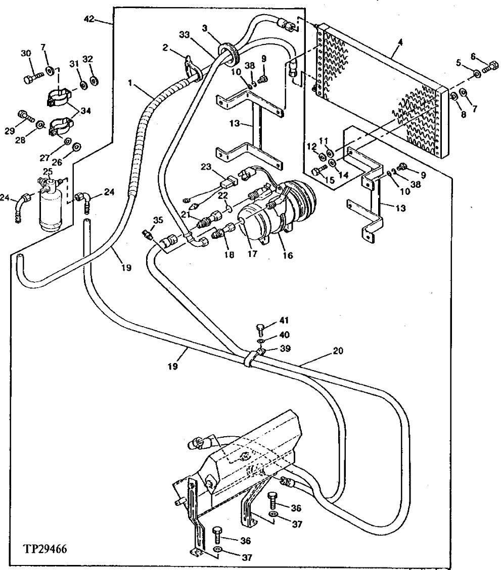
Запчасти John Deere 92DLC 144 - Air Conditioner Compressor and Condenser Hoses 1830 HEATING AND AIR CONDITIONING

Схема запчастей John Deere 92DLC - 144 - Air Conditioner Compressor and Condenser Hoses 1830 HEATING AND AIR CONDITIONING
FIT
1:1
100%

Артикул

Название

Примечание

Количество

1

Hose Guard

MAKE FROM XHG-075 BULK MATERIAL , CUT TO LENGTH SUB FOR AT138222

4шт.

2

H77698

Tie Band

SUB FOR T44946

15шт.

3

94-2812

Grommet

SUB FOR TH108102

1шт.

4

4045674

Vapor Condenser

SUB FOR TH101342

1шт.

5

24M7054

Washer

6.400 X 12 X 1.600 mm

8шт.

6

19M7374

Cap Screw

M6 X 40

8шт.

7

24M7055

Washer

8.400 X 16 X 1.600 mm

6шт.

8

14M7273

Nut

M8

4шт.

9

19M7662

Cap Screw

M10 X 30

4шт.

10

24M7028

Washer

10.500 X 20 X 2 mm

4шт.

11

12M7006

Lock Washer

6 mm

8шт.

12

14M7272

Nut

M6

8шт.

13

8038250

Bracket

SUB FOR TH111909

2шт.

14

12M7056

Lock Washer

8 mm SUB FOR 12M7065

4шт.

15

19M7407

Cap Screw

M8 X 25

4шт.

16

TY6744

Compressor

NLA; ORDER SE501461; SUB FOR AT77894

1шт.

SE501461

Compressor

REMAN FOR TY6744 OR AT77894

1шт.

17

P51212

O-Ring

10.820 X 1.778 mm SUB FOR TH101361

1шт.

18

9732797

Adapter Fitting

SUB FOR TH112012; SUB FOR T H101360, ALONG WITH TH112013

1шт.

19

4198280

Refrigerant Hose

SUB FOR TH111026

2шт.

20

4143121

Refrigerant Hose

SUB FOR TH111910

1шт.

21

9719777

Hose Fitting

SUB FOR TH101362

1шт.

22

R33259

O-Ring

13.995 X 1.778 mm SUB FOR TH101363

1шт.

23

4176305

Wiring Harness

SUB FOR TH106904

1шт.

24

4121984

Adapter Fitting

SUB FOR TH106901; HOSE REPAIR END

2шт.

25

4080644

Receiver-Dryer

SUB FOR TH101344

1шт.

26

14M7272

Nut

M6

2шт.

27

12M7006

Lock Washer

6 mm

2шт.

28

24M7054

Washer

6.400 X 12 X 1.600 mm

2шт.

29

19M7077

Cap Screw

M6 X 20

2шт.

30

19M7932

Cap Screw

M8 X 16

2шт.

31

12M7056

Lock Washer

8 mm SUB FOR 12M7065

2шт.

32

14M7273

Nut

M8

2шт.

33

4209433

Refrigerant Hose

SUB FOR TH111025

1шт.

34

4045673

Bracket

SUB FOR TH101345

2шт.

35

4244612

Check Valve

SUB FOR TH112013

1шт.

36

19M7402

Cap Screw

M10 X 25

2шт.

37

12M7066

Lock Washer

10 mm

2шт.

38

12M7066

Lock Washer

10 mm

4шт.

39

R50454

Clamp

SUB FOR TH109445 OR 4192034

4шт.

40

12M7066

Lock Washer

10 mm

4шт.

41

19M7881

Screw

M8 X 20

4шт.

42

9078009

Mounting Parts

SUB FOR AT128491

1шт.

Выбрано товаров: 0