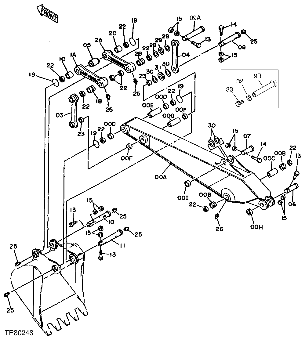
Запчасти John Deere 92DLC 206 - Arm (Standard) (2.96 m - 9 ft. 9 in.) 3340 Frames

Схема запчастей John Deere 92DLC - 206 - Arm (Standard) (2.96 m - 9 ft. 9 in.) 3340 Frames
FIT
1:1
100%

Артикул

Название

Примечание

Количество

0A

Arm

(INCLUDES ITEMS 0B THROUGH 0I) ( TH110 163 ASSEMBLY NO LONGER AVAILABLE - ORDE R INDIVIDUAL COMPONENTS) (WHEN REPLACIN G SHORT OR LONG ARM WITH STANDARD ARM, ALSO ORDER (2) TH111266 AND (2) TH11119 9)

1шт.

7017643

Arm

(SUB FOR TH111437)

1шт.

0B

3026077

Bushing

(SUB FOR TH103212)

2шт.

0C

4143372

Spacer

(SUB FOR TH103213)

1шт.

0D

TH103214

Bushing

2шт.

0E

4143370

Spacer

(SUB FOR TH103215)

1шт.

0F

TH103216

Bushing

2шт.

0G

4143371

Spacer

(SUB FOR TH103217)

1шт.

0H

TH103198

Bushing

101.600 X 127 X 49.276 mm

1шт.

0I

TH102409

Bushing

92.075 X 120.650 X 50.800 mm

1шт.

1A

8037698

Link

(SUB FOR TH111490)(INC LUDES ITEMS 1B AND 1C)

1шт.

1B

TH111170

Bushing

1шт.

1C

3028854

Bushing

(SUB FOR TH103221)

1шт.

2A

8037697

Link

(SUB FOR TH111489)(INC LUDES ITEMS 2B AND 2C)

1шт.

2B

TH111170

Bushing

1шт.

2C

3028854

Bushing

(SUB FOR TH103221)

1шт.

3

8026311

Link

(SUB FOR TH103222)

1шт.

4

3026104

Link

(SUB FOR TH103223)

1шт.

5

4155763

Bushing

(SUB FOR TH103224)

1шт.

6

TH111180

Pin Fastener

100 X 293 mm

1шт.

7

TH103204

Pin

1шт.

8

TH111181

Pin Fastener

1шт.

9A

TH111182

Pin Fastener

100 X 546 mm (STANDARD)

1шт.

9B

AT189262

Pin

(HEAVY DUTY APPLICATIONS) (OPTIONA L) (USE WITH AT189263 AND 19M7488)

1шт.

10

TH112086

Pin Fastener

(SUB FOR 3037541 ) (ALSO ORDER TH100074)

1шт.

11

AT164648

Pin Fastener

(SUB FOR TH112087 ) (SUB FOR T H111184 ) (ALSO ORDER TH100074)

1шт.

13

19M8100

Cap Screw

M20 X 180 (SUB FOR TH103500)

4шт.

14

19M8503

Cap Screw

M20 X 160

2шт.

15

14M7277

Nut

M20

12шт.

19

4100180

O-Ring

(STANDARD O-RING)

4шт.

AT349467

Seal

(SPLIT O-RING)

4шт.

22

TH102411

Seal

10шт.

23

TH102445

Seal

(I.D. 100 MM - O.D. 115 MM)

2шт.

25

TH100074

Lubrication Fitting

7шт.

26

T116334

Lubrication Fitting

(SUB FOR TH100075)

2шт.

28

4189839

Washer

101 X 165 X 1.200 mm (SUB FOR TH106305)

2шт.

29

4189838

Washer

101 X 165 X 2.300 mm (SUB FOR TH106306)

1шт.

30

TH106307

Washer

4шт.

31

TH106308

Washer

1шт.

32

AT189263

Bushing

(HEAVY DUTY APPLICATIONS) (OPTIONA L) (USE WITH AT189262 AND 19M7488)

1шт.

33

19M7488

Cap Screw

M16 X 40 (HEAVY DUTY APPLICATIONS) (OPT IONAL) (USE WITH AT189262 AND AT189263)

1шт.

Выбрано товаров: 41