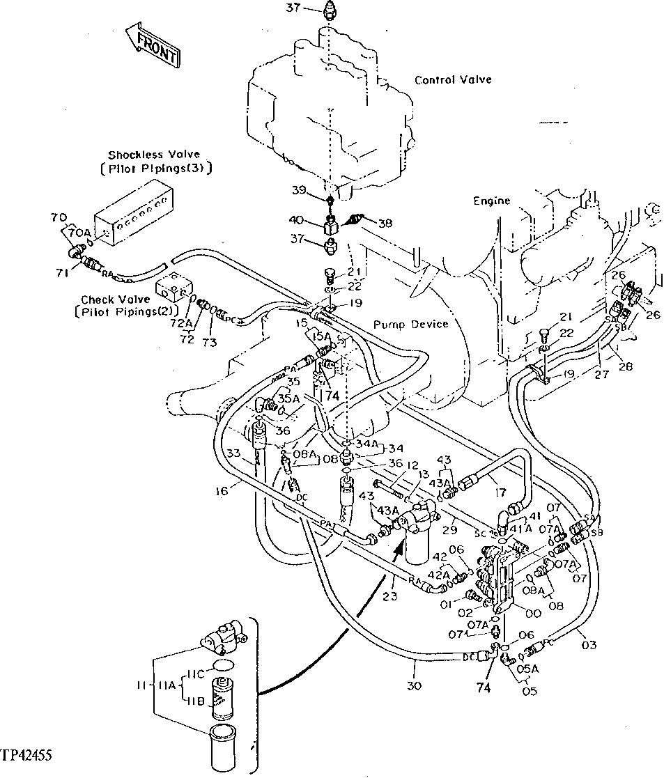
Запчасти John Deere 92DLC 215 - PILOT PLUMBING 3360 HYDRAULIC SYSTEM

Схема запчастей John Deere 92DLC - 215 - PILOT PLUMBING 3360 HYDRAULIC SYSTEM
FIT
1:1
100%

Артикул

Название

Примечание

Количество

0

4196411

Solenoid Valve

(SUB FOR TH108398)

1шт.

1

19M7662

Cap Screw

2шт.

2

12M7066

Lock Washer

2шт.

3

4214473

Hydraulic Hose

(SUB FOR TH111379)

1шт.

5

A853344

Elbow Fitting

(SUB FOR TH108401, 4200580)

1шт.

5A

4506418

O-Ring

(SUB FOR U46489)

1шт.

6

T77857

O-Ring

(SUB FOR TH108323)

2шт.

7

4200465

Adapter Fitting

(SUB FOR TH108328)

3шт.

7A

M800650

Packing

1шт.

8

4154670

Elbow Fitting

(SUB FOR TH100951)

2шт.

8A

M800650

Packing

1шт.

11

4631976

Oil Filter

(SUB FOR TH108402, 4191300)

1шт.

11A

AT186554

Filter Element

(SUB FOR TH108403 OR AT147821)

1шт.

11B

Filter Element

(SUB AT147821, AT186554)

1шт.

11C

AT264334

O-Ring

(SUB FOR TH100101)(USE WIT H TH108403 FILTER ELEMENT)

1шт.

CH17154

Packing

(USE WITH AT147821 FILTER ELEMENT)

1шт.

12

19M8761

Screw

(SUB FOR TH102993)

2шт.

13

12M7066

Lock Washer

2шт.

15

4200466

Adapter Fitting

(SUB FOR TH108320)

1шт.

15A

CH11570

O-Ring

1шт.

16

AT54262

Hydraulic Hose

(SUB FOR TH108406)(PA)

1шт.

17

9730285

Line

(SUB FOR TH111658)(PB)

1шт.

19

4190292

Clip

(SUB FOR TH108321)

2шт.

21

19M3142

Cap Screw

2шт.

22

12M7066

Lock Washer

2шт.

23

4214474

Hydraulic Hose

(SUB FOR TH111380)(RA)

1шт.

26

4187914

Cylinder

(SUB FOR TH108409)(AUTO IDLE MODE ADAPTER AND ECONOMY MODE ADAPTER)

2шт.

27

AH96002

Hydraulic Hose

(SUB FOR TH111374)(SA)

1шт.

28

AH96002

Hydraulic Hose

(SUB FOR TH111375)(SB)

1шт.

29

AT126850

Hydraulic Hose

(SC) (SUB FOR 4214464, ALONG WITH AH89069)

1шт.

Выбрано товаров: 30