Запчасти John Deere 92DLC 216 - PILOT PLUMBING 3360 HYDRAULIC SYSTEM

Схема запчастей John Deere 92DLC - 216 - PILOT PLUMBING 3360 HYDRAULIC SYSTEM
FIT
1:1
100%

Артикул

Название

Примечание

Количество

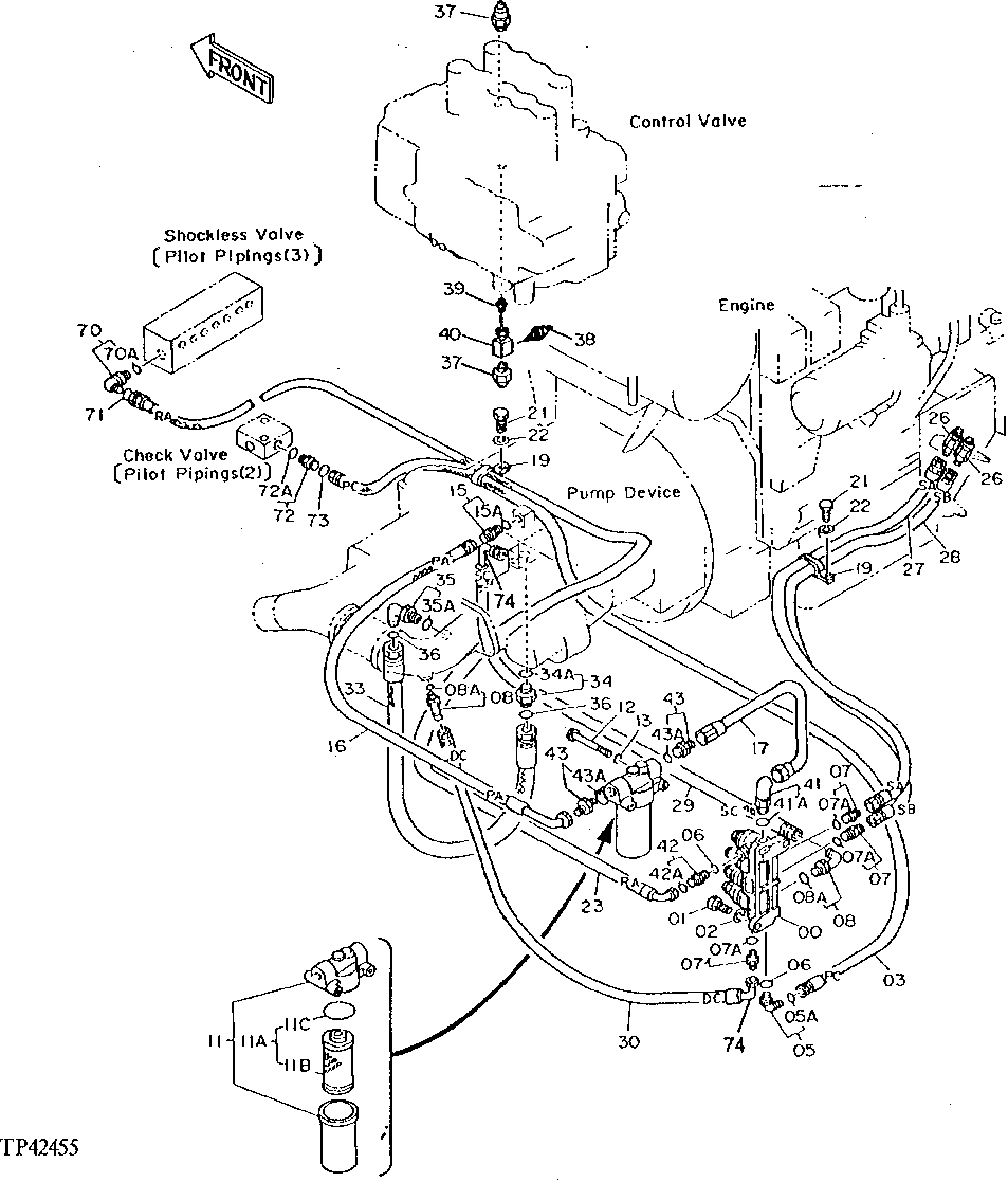
30

AE42718

Hydraulic Hose

(DC) (SUB FOR TH111378, ALONG WITH AH89069)

1шт.

33

AT107220

Hydraulic Hose

(SUB FOR TH109576)

1шт.

34

4189619

Adapter Fitting

(SUB FOR AT107392)

1шт.

34A

AT318035

O-Ring

(SUB FOR 4506424, TH100055)

1шт.

35

4157562

Elbow Fitting

(SUB FOR TH109540)

1шт.

35A

AT318035

O-Ring

(SUB FOR 4506424, TH100055)

1шт.

36

T77858

O-Ring

(SUB FOR TH108349)

2шт.

37

4259333

Pressure Switch

(SUB FOR TH108413)(1 - ENGINE SPEED AND PUMP DISPLACEMENT CONTROL BOX. 1 - DIG FUNCTION)

2шт.

38

4259333

Pressure Switch

(SUB FOR TH108413)(FOR MOTION ALARM)

1шт.

39

4242510

Adapter Fitting

(SUB FOR AT126870)

1шт.

40

4242511

Tee Fitting

(SUB FOR AT126871)

1шт.

41

4200471

Elbow Fitting

(SUB FOR TH108399)

1шт.

41A

4506418

O-Ring

(SUB FOR U46489)

1шт.

42

4189602

Fitting

(SUB FOR TH108350)

1шт.

42A

4506418

O-Ring

(SUB FOR U46489)

1шт.

43

4200469

Adapter Fitting

(SUB FOR TH108400)

2шт.

43A

4506418

O-Ring

(SUB FOR U46489)

1шт.

70

A853344

Elbow Fitting

(SUB FOR TH108401, 4200580)

1шт.

70A

4506418

O-Ring

(SUB FOR U46489)

1шт.

71

T77857

O-Ring

(SUB FOR TH108323)

1шт.

72

4189602

Fitting

(SUB FOR TH108350)

1шт.

72A

4506418

O-Ring

(SUB FOR U46489)

1шт.

73

T77857

O-Ring

(SUB FOR TH108323)

1шт.

74

AH89069

Elbow Fitting

2шт.

Выбрано товаров: 24