Запчасти John Deere 92DLC 251 - Bucket Cylinder 3365 Hydraulic Cylinders

Схема запчастей John Deere 92DLC - 251 - Bucket Cylinder 3365 Hydraulic Cylinders
FIT
1:1
100%

Артикул

Название

Примечание

Количество

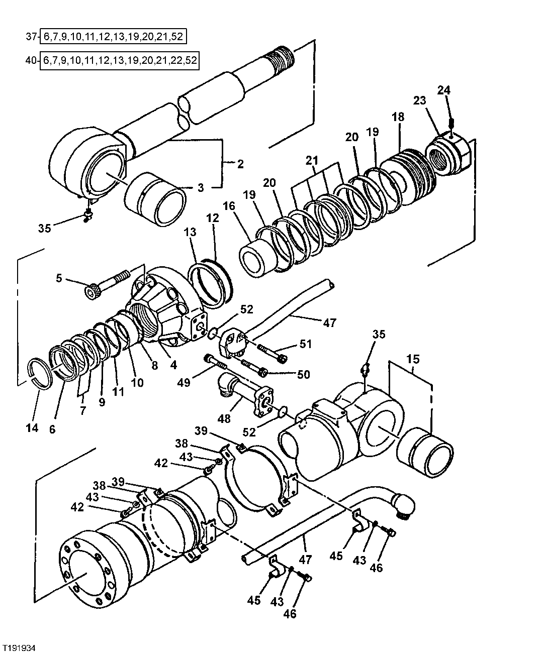
1

3031789

Bushing

(SUB FOR TH110072)

1шт.

2

7017181

Rod

(SUB FOR TH111570)

1шт.

3

3036659

Bushing

(SUB FOR TH111167)

1шт.

4

1022645

Hydraulic Cylinder Cap

(SUB FOR AT131253 OR TH111113 ) (ALSO ORDER AT264274, AT264294 AND 4369508)

1шт.

5

19M8630

Screw

M24 X 80 (SUB FOR TH111067)

8шт.

6

AT264407

Seal

(A) (B) (SUB FOR TH11121 5)(CYLINDER SERIAL NUMBER)

1шт.

AT264294

Seal

(SUB FOR AT217969, 434820 1)(CYLINDER SERIAL NUMBER)

1шт.

7

AT264408

Seal

(A) (B) (SUB FOR TH111216)

1шт.

8

4264982

Snap Ring

(SUB FOR AT131254)

1шт.

9

4389326

Ring

(A) (B) (SUB FOR TH111217 ) (SUB FOR AT201003, AT264409)

1шт.

10

AT264239

Bushing

(A) (B) (SUB FOR TH111218, AT131420)

1шт.

11

AT264406

O-Ring

(A) (B) (SUB FOR TH111212)

1шт.

12

TH110052

O-Ring

(A) (CYLINDER SERIAL NUMBER)

1шт.

AT264274

O-Ring

(B) (SUB FOR AT159582, 4267 138)(CYLINDER SERIAL NUMBER)

1шт.

13

AT264399

Back-Up Ring

(A) (B) (SUB FOR TH11005 5)(CYLINDER SERIAL NUMBER)

1шт.

14

4369508

Ring

(B) RETAINING, (SUB FOR AT21 7983 (CYLINDER SERIAL NUMBER))

1шт.

15

4646017J

Hydraulic Cylinder Barrel

(SUB FOR TH111599 OR 9121231)

1шт.

16

4194625

Ring

(SUB FOR TH111275)

1шт.

18

3080835

Piston

(SUB FOR TH111164 AND 3036603)

1шт.

19

AT264400

Ring

(A) (B) (SUB FOR TH110062, 4185247)

2шт.

20

AT264401

Wear Ring

(A) (B) (SUB FOR TH110063)

2шт.

21

AT264402

Ring

(A) (B) (SUB FOR TH110065)

1шт.

22

AT280433

Back-Up Ring

(B) (NOT ILLUSTRATED)

1шт.

23

3039348

Nut

(SUB FOR TH111191)

1шт.

24

4201806

Set Screw

(SUB FOR TH110066)

1шт.

35

T116334

Lubrication Fitting

(SUB FOR TH100075)

2шт.

36

9111168

Hydraulic Cylinder

(INCLUDES KEYS 0 THROUGH 35) (SUB FOR TH111617, 9076768EX)

1шт.

37

AT196474

Seal Kit

(INCLUDES PARTS MARKED (A)) (CYL S/N -803512)

1шт.

38

8036709

Clamp

(SUB FOR TH110057)(NOT ILLUSTRAT ED) (SERIAL NO. NOT AVAILABLE) (F OR UNITS BUILT BEFORE MARCH 1988)

2шт.

3043349

Clamp

(SUB FOR TH111883)(SERIAL NO. NOT AVAILABL E) (FOR UNITS BUILT IN MARCH 1988 OR AFTER)

2шт.

39

8038475

Clamp

(SUB FOR TH110056)(NOT ILLUSTRAT ED) (SERIAL NO. NOT AVAILABLE) (F OR UNITS BUILT BEFORE MARCH 1988)

2шт.

8074320

Clamp

(SUB FOR TH111988)(SERIAL NO. NOT AVAILABL E) (FOR UNITS BUILT IN MARCH 1988 OR AFTER)

2шт.

40

AT264430

Seal Kit

(INCLUDES PARTS MARKED (B)) (CYL S/N 803513- )

1шт.

41

4193962

Washer

(SUB FOR TH111259)(NOT ILLUSTRAT ED) (SERIAL NO. NOT AVAILABLE) (F OR UNITS BUILT BEFORE MARCH 1988)

4шт.

42

19M7550

Cap Screw

M10 X 35

4шт.

43

12M7066

Lock Washer

10 mm

8шт.

45

4174241

Clamp

(SUB FOR TH110059)

2шт.

46

19M7402

Cap Screw

M10 X 25

4шт.

47

8036941

Oil Line

(SUB FOR TH111478)

1шт.

48

8036940

Oil Line

(SUB FOR TH111477)

1шт.

49

19M8448

Screw

M12 X 35

4шт.

50

19M8341

Screw

M12 X 45

2шт.

51

19M8444

Screw

M12 X 60

2шт.

52

AT264324

O-Ring

(A) (B) (SUB FOR T32587, TH100044)

2шт.

53

Seal

(ROD AND HEAD END) (NOT ILLUSTRATED OR INCLUDED IN CYLINDER ASSEMBLY - FOR DETA IL SEE BOOM AND ARM HYDRAULIC OIL LINES)

4шт.

Выбрано товаров: 45