Запчасти John Deere 92DLC 254 - Swing Motor ( - 005477) 4360 HYDRAULIC SYSTEM

Схема запчастей John Deere 92DLC - 254 - Swing Motor ( - 005477) 4360 HYDRAULIC SYSTEM
FIT
1:1
100%

Артикул

Название

Примечание

Количество

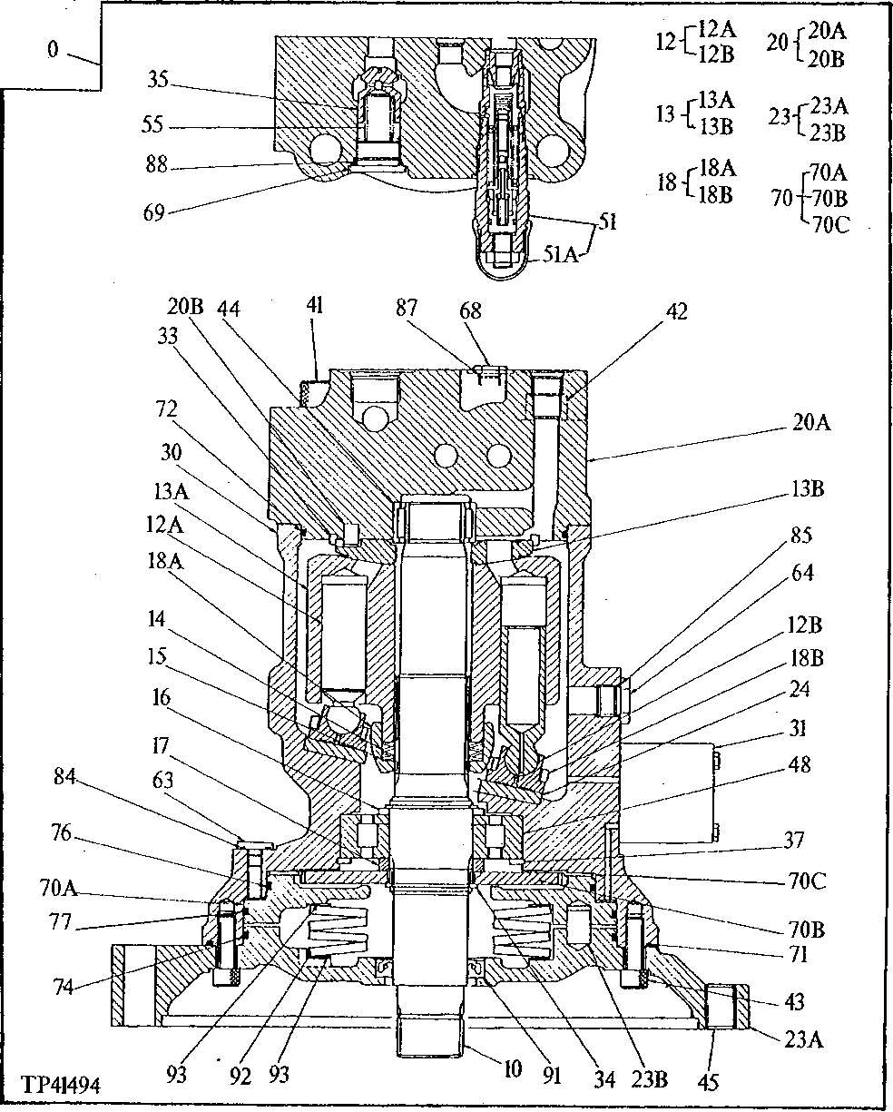
0

4197829EX

Hydraulic Motor

(REMANUFACTURED) (SUB FOR T H111290 ) (SUB FOR AT217346)

1шт.

10

0308628

Shaft

(SUB FOR TH109936 ) (SUB FOR TH112063)

1шт.

12

0308601

Piston

(SUB FOR TH109928)

9шт.

12A

Piston

(SUB TH109928)

1шт.

12B

Shoe

(SUB TH109928)

1шт.

13

0326901

Hydraulic Cylinder

(SUB FOR TH111075)

1шт.

13A

Cylinder

(SUB TH111075)

1шт.

13B

Plate

(SUB TH111075)

1шт.

14

0308611

Disk Spring

(SUB FOR TH109939)

1шт.

15

0308612

Shim

(SUB FOR TH109940)

1шт.

16

0308609

Washer

(SUB FOR TH109937)

1шт.

17

0308610

Washer

(SUB FOR TH109938)

1шт.

18

0308603

Plate

(SUB FOR TH109930)

1шт.

18A

Bushing

(SUB TH109930)

1шт.

18B

Plate

(SUB TH109930)

1шт.

20

Case

( TH109931 NO LONGER AVAILABLE)

1шт.

20A

Housing

1шт.

20B

Pin Fastener

1шт.

23

0326902

Cover

(SUB FOR TH111074)

1шт.

23A

Cover

1шт.

23B

Pin Fastener

2шт.

24

0308613

Plate

(SUB FOR TH109941)

1шт.

30

Housing

( TH111076 NO LONGER AVAILABLE)

1шт.

31

0308606

Flow Control Hyd. Valve

(SUB FOR TH109933)

1шт.

33

0308614

Ring

(SUB FOR TH109942)

1шт.

34

40M7066

Snap Ring

(SUB FOR TH100498)

2шт.

35

Poppet

(SUB TH102635)

2шт.

37

40M5463

Snap Ring

(SUB FOR TH109456 AND 40M7178)

1шт.

41

0308616

Screw

(SUB FOR TH109944)

2шт.

42

0308617

Screw

(SUB FOR TH109945)

2шт.

43

19M8448

Screw

M12 X 35

16шт.

44

TH109948

Bearing

1шт.

45

Drain Plug

( 0326905 OR TH111077 NO L ONGER AVAILABLE FOR SERVICE)

2шт.

48

TH109947

Cylindrical Roller Bearing

1шт.

51

0327001

Pressure Relief Valve

(SUB FOR TH111078)(CONTAI NS ITEMS 51A, 51B AND 51C)

2шт.

51A

4269432

Cap

(SUB FOR AT134343)

1шт.

51B

0177007

Back-Up Ring

(SUB FOR TH112007)(NOT ILLUSTRATED)

1шт.

51C

A811025

O-Ring

(SUB FOR TH112260 ) (SUB FOR TH103950)(NOT ILLUSTRATED) (O. D. OF INTERNAL END OF TH111078 )

1шт.

55

Spring

(SUB TH102638)

2шт.

63

0308621

Fitting Plug

(SUB FOR TH109949)

2шт.

64

0195128

Fitting Plug

(SUB FOR TH104562)

1шт.

68

0236014

Fitting Plug

(SUB FOR TH102650)

2шт.

69

15M7027

Drain Plug

(SUB FOR TH102651)

1шт.

70

0308627

Brake

(SUB FOR TH109935)

1шт.

70A

Piston

(SUB TH109935)

1шт.

70B

Coupling

(SUB TH109935)

1шт.

70C

0326906

Plate

(SUB FOR AT177777)

1шт.

71

0235826

O-Ring

(SUB FOR TH109950)

1шт.

72

4154877

O-Ring

(SUB FOR TH109951)

1шт.

74

0308624

O-Ring

(SUB FOR TH109954)

1шт.

76

4S01094

O-Ring

(SUB FOR AT170299, 0411 416, TH109953, 0308623)

1шт.

77

0308624

O-Ring

(SUB FOR TH109954)

1шт.

84

4506416

O-Ring

(SUB FOR TH102561)

2шт.

85

4506418

O-Ring

(SUB FOR U46489)

1шт.

87

M800650

Packing

1шт.

88

AT264347

O-Ring

(SUB FOR TH100136, 4506428)

2шт.

91

0251914

Seal

(SUB FOR TH109952)

1шт.

92

0308625

Disk Spring

(SUB FOR TH109955)

4шт.

93

0308626

Washer

(SUB FOR TH109956)

2шт.

Выбрано товаров: 59