Запчасти John Deere 92ELC 8 - Track Link 0130 Track Systems

Схема запчастей John Deere 92ELC - 8 - Track Link 0130 Track Systems
FIT
1:1
100%

Артикул

Название

Примечание

Количество

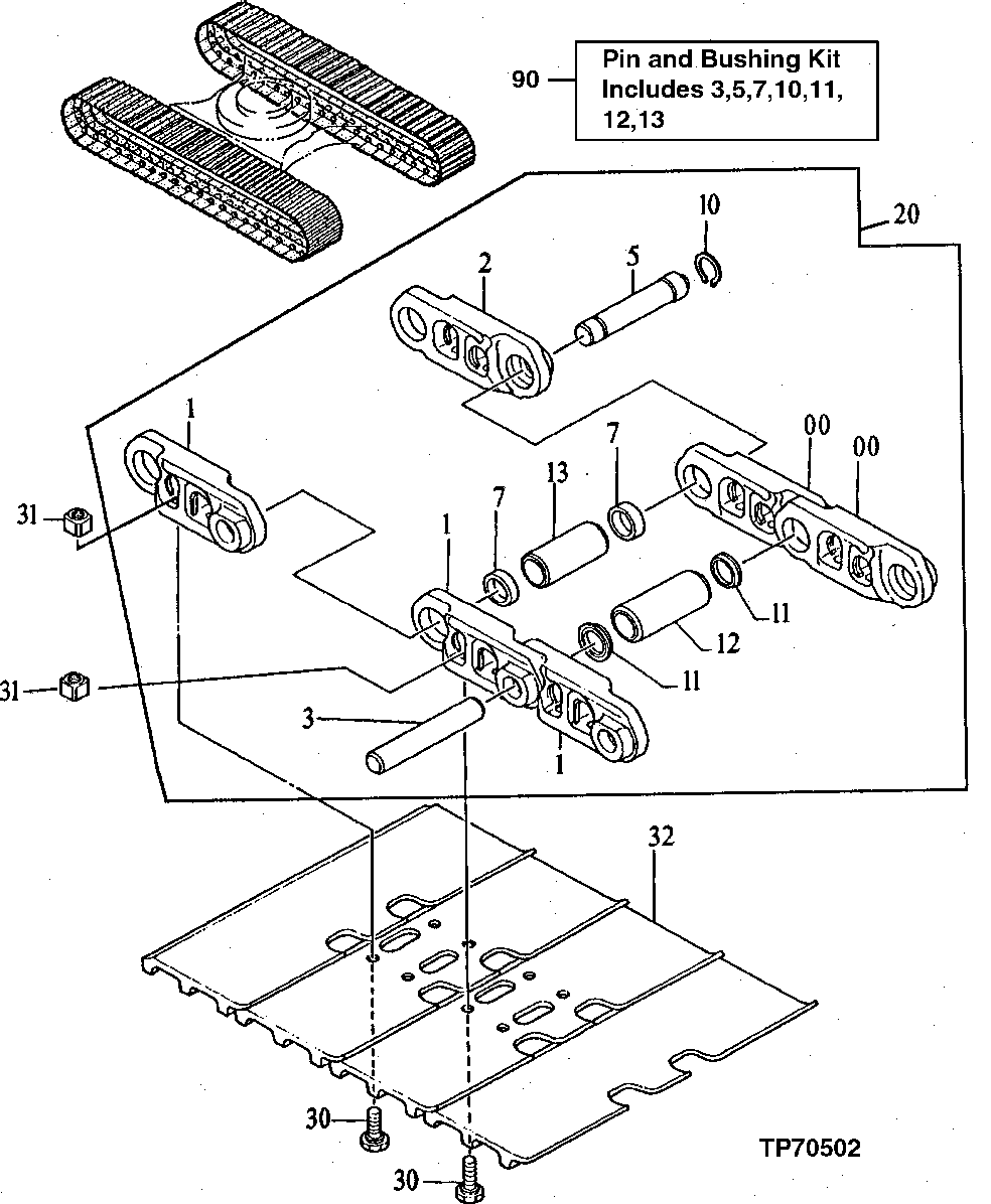
0

AT159075

Link

49шт.

1

AT159076

Link

50шт.

2

AT159077

Link

Master

1шт.

3

AT130913

Pin Fastener

(K) 44.450 X 245 mm (1-3/4" X 9.646 ") (QUANTITY OF 45) (PROVIDED IN KIT)

49шт.

5

AT159078

Master Track Pin

(K) Master (NON HEADED PIN)

1шт.

7

AT159079

Bushing

(K) 45.100 X 66.700 X 13.500 mm (1.776" X 2.626" X 17/32")

2шт.

10

T210813

Snap Ring

(K) (SUB FOR TH111227)

1шт.

11

FFSB112367

Seal

(K) (QUANTITY OF 92) (PROVIDED IN KIT) (SUB FOR TH111278 OR 4350562) (SUB FOR AT171645)

98шт.

12

TH103167

Bushing

(K) 45.250 X 66.650 X 158 mm (1-25/32" X 2.624" X 6.220") (Q UANTITY OF 45) (PROVIDED IN KIT )

49шт.

13

AT159080

Bushing

(K) 45.150 X 66.550 X 148.800 mm (1.778" X 2.620" X 5.858") Master

1шт.

20

AT317804

Track Chain W/O Shoes

(SUB FOR AT159074, AT186168 OR 9180909)

1шт.

30

4143721

Bolt

(SUB FOR TH103173)

200шт.

31

3060205

Nut

M20 (SUB FOR T144338)

200шт.

32

2017537

Open Center 3 Bar Shoe

600mm 24in., (SUB FOR TH103174)

50шт.

2016578

Open Center 3 Bar Shoe

800mm 31in., (SUB FOR TH103265)

50шт.

90

Pin & Bushing Kit

(SUB FOR AT187186)

1шт.

Выбрано товаров: 16