Запчасти John Deere 92ELC 177 - Covers 1910 Hood Or Engine Enclosure

Схема запчастей John Deere 92ELC - 177 - Covers 1910 Hood Or Engine Enclosure
FIT
1:1
100%

Артикул

Название

Примечание

Количество

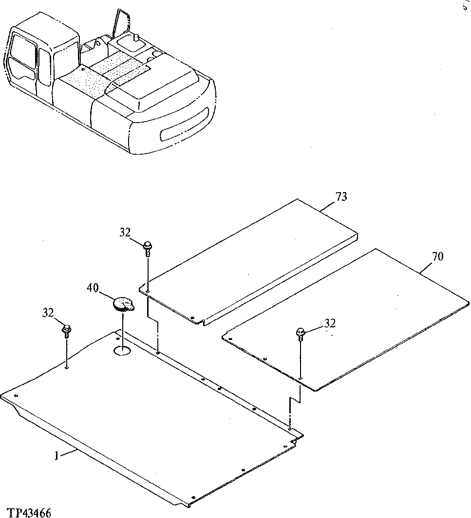
1

7027172

Cover

(SUB FOR AT201114)

1шт.

7032671

Cover

(SUB FOR AT178243)

1шт.

32

19M7662

Cap Screw

M10 X 30

11шт.

12M7066

Lock Washer

10 mm

11шт.

24M7028

Washer

10.500 X 20 X 2 mm

11шт.

40

3058180

Cap

(SUB FOR AT155242)

1шт.

70

7027620

Cover

(SUB FOR AT201126)

1шт.

73

7027621

Cover

(SUB FOR AT201127)

1шт.

Выбрано товаров: 8