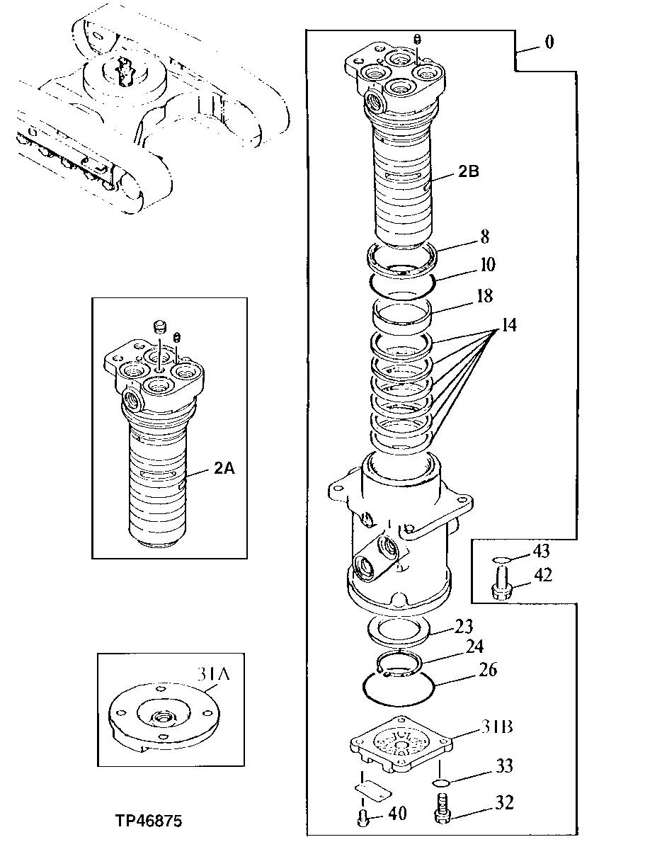
Запчасти John Deere 92ELC 11 - Rotary Manifold 0260 Axles, Diff. & Susp. Sys. Hyd. (Incl. Fwd)

Схема запчастей John Deere 92ELC - 11 - Rotary Manifold 0260 Axles, Diff. & Susp. Sys. Hyd. (Incl. Fwd)
FIT
1:1
100%

Артикул

Название

Примечание

Количество

0

AT154528

Manifold

NLA, (ORDER AT182278)

1шт.

AT182278

Jointer

NLA, (ORDER 9107265EX) (SUB FOR AT154528)

1шт.

9107265

Manifold

1шт.

9107265EX

Manifold Reman

(REMAN FOR 9107265) (SUB FOR AT182278)

1шт.

8

AT154321

Seal

1шт.

10

AT264418

O-Ring

(SUB FOR 4367664, U46155)

1шт.

14

AT154162

Seal

6шт.

18

4241780

Bushing

(SUB FOR AT154173)

1шт.

23

Ring

(SUB AT203646) ( TH110503 NLA)

1шт.

3070250

Ring

(SUB FOR AT203646)

1шт.

24

40M7048

Snap Ring

1шт.

26

CH16109

Packing

1шт.

31A

Cover

(SUB AT170452) ( AT154083 NLA)

1шт.

31B

2034607

Cover

(SUB FOR AT170452)

1шт.

32

19M7662

Cap Screw

M10 X 30

4шт.

33

12M7066

Lock Washer

10 mm

4шт.

40

37H99

Screw

0.100" X 1/4"

2шт.

42

19M7403

Cap Screw

M12 X 35

4шт.

43

12H301

Lock Washer

1/2"

4шт.

24M7047

Washer

13 X 24 X 2.500 mm

4шт.

Выбрано товаров: 20