Запчасти John Deere 92ELC 251 - MAIN PIPINGS 3360 Hydraulic System

Схема запчастей John Deere 92ELC - 251 - MAIN PIPINGS 3360 Hydraulic System
FIT
1:1
100%

Артикул

Название

Примечание

Количество

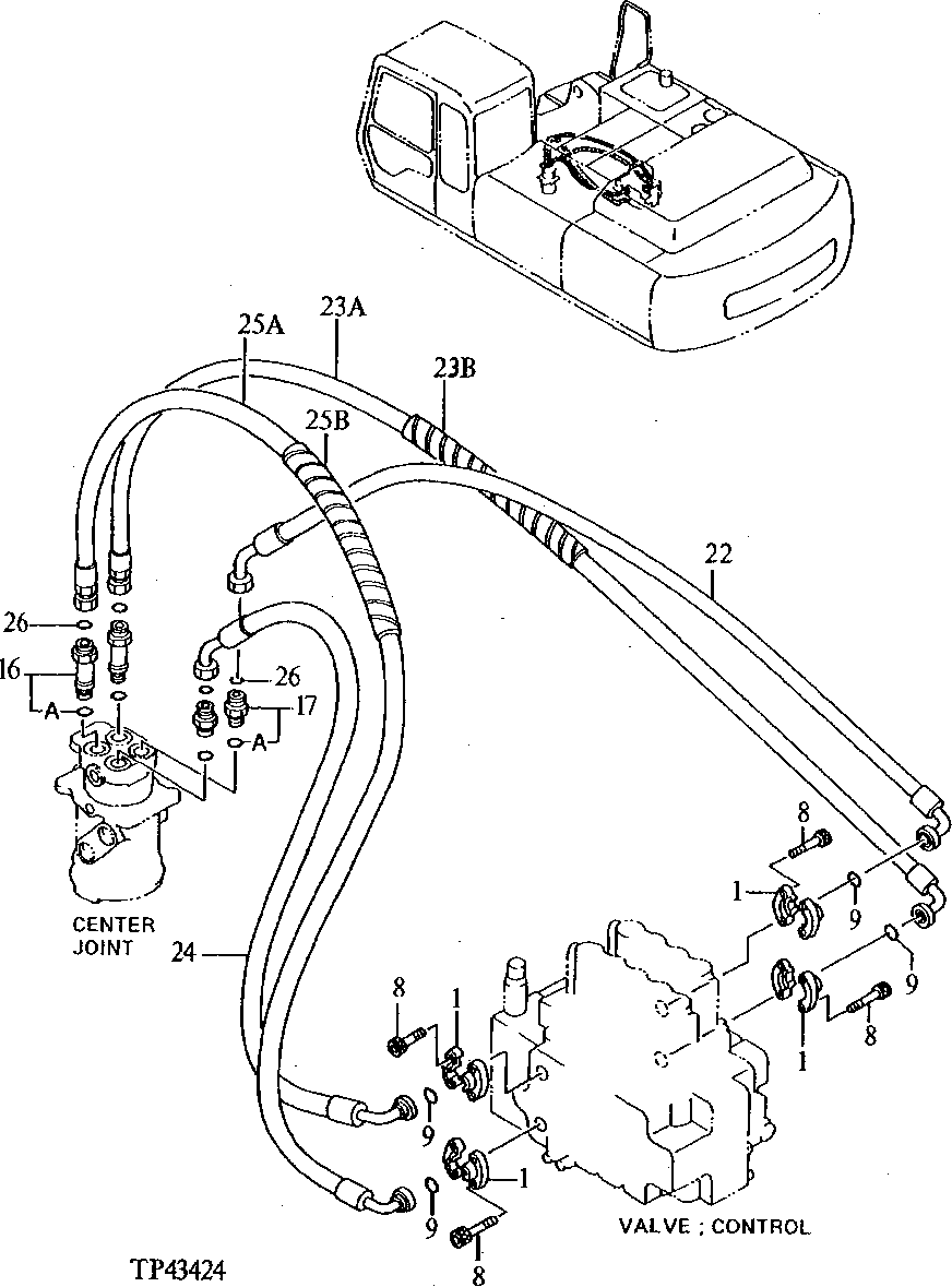
1

R29424

Flange Fitting

8шт.

8

19M8337

Screw

M10 X 30

16шт.

9

T59014

O-Ring

24.994 X 3.531 mm (63/64" X 0.139")

4шт.

16

4198411

Adapter Fitting

(SUB FOR TH111292)

2шт.

16A

AT318035

O-Ring

(SUB FOR 4506424, TH100055)

1шт.

17

4189601

Adapter Fitting

(SUB FOR AT107394)

2шт.

17A

AT318035

O-Ring

(SUB FOR 4506424, TH100055)

1шт.

22

4313124

Hose

(SUB FOR AT201209)

1шт.

23A

4313127

Hose

(SUB FOR AT201211) (SUB FOR AT201212)

1шт.

23B

Hose Guard

(MF XHG-075, BULK MATERIA L, CTL) (SUB FOR AT138222)

1шт.

24

4313125

Hose

(SUB FOR AT201210)

1шт.

25A

4313127

Hose

(SUB FOR AT201212)

1шт.

25B

Hose Guard

(MF XHG-075, BULK MATERIA L, CTL) (SUB FOR AT138222)

1шт.

26

T76938

O-Ring

23.520 X 1.780 mm (0.926" X 0.070")

4шт.

Выбрано товаров: 14